2017年4月1日,雄安新区正式成立。这个被定位为“千年大计、国家大事”的国家级新区,是推动京津冀协同发展的引擎之一。
自2019年开始,雄安新区设立了一系列产业基金,积极参与一级市场投资。当时设立的规模高达100亿元的产业引导基金,就在过去6年中,扮演着推动雄安产业发展的重要角色。
最近,雄安新区又设立了“河北雄安科技创新股权投资基金”,规模也达100亿。与此前的引导基金不同,这只新基金聚焦在“科创”二字。这标志着雄安新区已经从八年前的百事待兴,发展到承接京津冀科技创新的新阶段。
谁在掌舵雄安科创投资?
先来看看新基金的设立情况。
这支百亿级的科创基金,由河北雄安新区管理委员会出资99.8亿,中国雄安集团基金管理公司(简称“雄安基金”)、河北雄安雄创未来产业投资管理有限公司各出资1000万元设立。
在最近两年的河北地界,100亿的总规模,算规模较大的产业基金。去年石家庄设立了总规模45亿的产业基金,前年唐山设立了50亿规模的机器人产业基金,两地在股权投资上都动作不小,但基金规模上都赶不上雄安新区的出手力度。
雄安科创基金的执行事务合伙人是中国雄安集团基金管理公司。这是中国雄安集团旗下子公司,也是雄安新区最主要的基金管理人。它背后的“大佬”中国雄安集团成立于2017年,注册资本300亿,是服务于雄安新区开发建设的“新型城市运营服务商”。与河北其他投资公司不同的是,它是河北省内唯一一家是由河北省政府出资设立的省属重点骨干企业,足见其在河北省的战略定位和影响力。
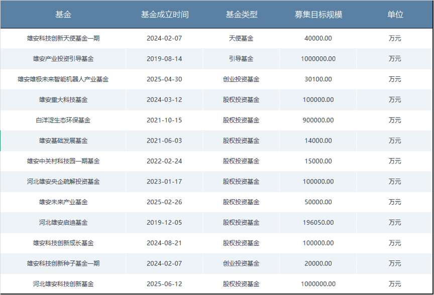
2018年,雄安集团旗下的基金管理公司成立,第二年开始进入股权投资领域。据CVSource投中数据显示,目前雄安基金已经管理着13支产业基金(见下表)。

这13支基金中,除了最新设立的科创基金外,最值得关注的莫过于另一只百亿级母基金——雄安产业投资引导基金。2018年开始筹备,目前已经出资了河北雄安启迪发展基金、雄安重大科技成果转化基金、雄安科技创新种子基金、天使基金等8支子基金。
按照其官方披露规划,100亿元的雄安产业投资引导基金,和新设立的100亿雄安科技创新股权投资基金,将推动雄安形成更完善的基金管理体系,为企业提供助力。
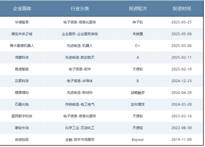
再看投资。不完全统计,雄安基金目前投资了11家公司。既包括早期天使轮与种子轮投资,也有战略投资和上市公司的定向增发。涵盖了企业早中后和二级市场的全生命周期。
特别是在2024年后,雄安基金的投资开始提速。这一年它先后投资了石晶光电、煜鼎增材、芯昇科技3家公司。今年上半年,雄安基金又投资了稳准智能、鸿擎科技、梅卡曼德机器人、雄安未来之城、华清智言5家公司。而且覆盖周期非常广泛,从种子轮的华清智言,再到一级半的石晶光电,甚至与清华控股并列成为启迪控股的第一大股东。

梅卡曼德机器人是上述投资中的代表案例。这家公司于2016年成立于北京,是国内知名的智能工业机器人制造商。旗下产品已经服务于汽车、家电、钢铁、物流等多种场景。创立早期梅卡曼德机器人就获得伽利略资本、启明创投、红杉中国、IDG资本、源码资本、美团战投部等知名机构投资。
去年底,雄安基金管理的“雄安重大科技成果转化股权投资基金(有限合伙)”参与了梅卡曼德机器人D+轮融资。今年3月,河北省国企改革发展基金又参与了这家公司的E轮融资。在雄安投资披露前夕,梅卡曼德机器人就将公司总部迁到了雄安新区。
百亿科创投向何处?
梅卡曼德全球总部落地雄安时,创始人邵天兰说,雄安新区的人工智能和机器人的专项政策以及人才政策,对梅卡曼德来说有很大的吸引力。
按照雄安新区的规划,人工智能(机器人)正是其重点投资的领域之一。而且不止梅卡曼德,今年1月,优必选也落地了雄安新区。按照前不久官方公布的数据显示,雄安新区已经发布了20项大模型自主创新企业成果,有50多家人工智能企业落地雄安。包括与清华大学联合设立的人工智能研究院等等。
除了人工智能外,按照《雄安新区促进未来产业发展行动计划》,空天信息和卫星互联网、新材料等赛道也是其重点布局的领域。
可能出乎不少人的意料。我国唯一一家从事卫星互联网设计建设运营的央企——中国星网,就于2021年在雄安新区成立。以此为契机,雄安新区开始大力发展空天信息产业。
今年2月,雄安基金管理的“雄安科技创新成长基金”对蓝箭航空旗下的鸿擎科技进行了投资。这是一家专注低轨宽带通信卫星研发制造的公司。此前已经获得基石资本、京国瑞投资、北京市先进制造和智能装备产业投资基金的注资。目前鸿擎科技也已落户到雄安科学园。
新材料的产业规划则更早。2018年中央在《河北雄安新区规划纲要》中,就明确将新材料产业作为发展重点。雄安基金的代表投资案例,是2024年4月由“雄安重大科技成果转化股权投资基金”领投了煜鼎增材。这是一家由中国工程院士、金属3D打印专家王华明院士于2014年创办的企业,主要业务是重大装备大型关键构件高性能金属材料制造。当时这家公司投后估值超33亿元,目前已经在进行上市规划。
上述产业发展规划和投资案例,也暗示了新基金的投资方向。人工智能、航空航天和新材料,无疑是最受关注的赛道。另外生命科学、未来能源、未来产业科技服务等,也是科创基金的覆盖范围。按照雄安基金不断加速的投资节奏,相信也许半年或明年初,就会有更多相关企业落地雄安。
雄安新区,再设100亿科创基金
一只聚焦在“科创”二字的新基金。
2017年4月1日,雄安新区正式成立。这个被定位为“千年大计、国家大事”的国家级新区,是推动京津冀协同发展的引擎之一。
自2019年开始,雄安新区设立了一系列产业基金,积极参与一级市场投资。当时设立的规模高达100亿元的产业引导基金,就在过去6年中,扮演着推动雄安产业发展的重要角色。
最近,雄安新区又设立了“河北雄安科技创新股权投资基金”,规模也达100亿。与此前的引导基金不同,这只新基金聚焦在“科创”二字。这标志着雄安新区已经从八年前的百事待兴,发展到承接京津冀科技创新的新阶段。
谁在掌舵雄安科创投资?
先来看看新基金的设立情况。
这支百亿级的科创基金,由河北雄安新区管理委员会出资99.8亿,中国雄安集团基金管理公司(简称“雄安基金”)、河北雄安雄创未来产业投资管理有限公司各出资1000万元设立。
在最近两年的河北地界,100亿的总规模,算规模较大的产业基金。去年石家庄设立了总规模45亿的产业基金,前年唐山设立了50亿规模的机器人产业基金,两地在股权投资上都动作不小,但基金规模上都赶不上雄安新区的出手力度。
雄安科创基金的执行事务合伙人是中国雄安集团基金管理公司。这是中国雄安集团旗下子公司,也是雄安新区最主要的基金管理人。它背后的“大佬”中国雄安集团成立于2017年,注册资本300亿,是服务于雄安新区开发建设的“新型城市运营服务商”。与河北其他投资公司不同的是,它是河北省内唯一一家是由河北省政府出资设立的省属重点骨干企业,足见其在河北省的战略定位和影响力。
2018年,雄安集团旗下的基金管理公司成立,第二年开始进入股权投资领域。据CVSource投中数据显示,目前雄安基金已经管理着13支产业基金(见下表)。
这13支基金中,除了最新设立的科创基金外,最值得关注的莫过于另一只百亿级母基金——雄安产业投资引导基金。2018年开始筹备,目前已经出资了河北雄安启迪发展基金、雄安重大科技成果转化基金、雄安科技创新种子基金、天使基金等8支子基金。
按照其官方披露规划,100亿元的雄安产业投资引导基金,和新设立的100亿雄安科技创新股权投资基金,将推动雄安形成更完善的基金管理体系,为企业提供助力。
再看投资。不完全统计,雄安基金目前投资了11家公司。既包括早期天使轮与种子轮投资,也有战略投资和上市公司的定向增发。涵盖了企业早中后和二级市场的全生命周期。
特别是在2024年后,雄安基金的投资开始提速。这一年它先后投资了石晶光电、煜鼎增材、芯昇科技3家公司。今年上半年,雄安基金又投资了稳准智能、鸿擎科技、梅卡曼德机器人、雄安未来之城、华清智言5家公司。而且覆盖周期非常广泛,从种子轮的华清智言,再到一级半的石晶光电,甚至与清华控股并列成为启迪控股的第一大股东。
梅卡曼德机器人是上述投资中的代表案例。这家公司于2016年成立于北京,是国内知名的智能工业机器人制造商。旗下产品已经服务于汽车、家电、钢铁、物流等多种场景。创立早期梅卡曼德机器人就获得伽利略资本、启明创投、红杉中国、IDG资本、源码资本、美团战投部等知名机构投资。
去年底,雄安基金管理的“雄安重大科技成果转化股权投资基金(有限合伙)”参与了梅卡曼德机器人D+轮融资。今年3月,河北省国企改革发展基金又参与了这家公司的E轮融资。在雄安投资披露前夕,梅卡曼德机器人就将公司总部迁到了雄安新区。
百亿科创投向何处?
梅卡曼德全球总部落地雄安时,创始人邵天兰说,雄安新区的人工智能和机器人的专项政策以及人才政策,对梅卡曼德来说有很大的吸引力。
按照雄安新区的规划,人工智能(机器人)正是其重点投资的领域之一。而且不止梅卡曼德,今年1月,优必选也落地了雄安新区。按照前不久官方公布的数据显示,雄安新区已经发布了20项大模型自主创新企业成果,有50多家人工智能企业落地雄安。包括与清华大学联合设立的人工智能研究院等等。
除了人工智能外,按照《雄安新区促进未来产业发展行动计划》,空天信息和卫星互联网、新材料等赛道也是其重点布局的领域。
可能出乎不少人的意料。我国唯一一家从事卫星互联网设计建设运营的央企——中国星网,就于2021年在雄安新区成立。以此为契机,雄安新区开始大力发展空天信息产业。
今年2月,雄安基金管理的“雄安科技创新成长基金”对蓝箭航空旗下的鸿擎科技进行了投资。这是一家专注低轨宽带通信卫星研发制造的公司。此前已经获得基石资本、京国瑞投资、北京市先进制造和智能装备产业投资基金的注资。目前鸿擎科技也已落户到雄安科学园。
新材料的产业规划则更早。2018年中央在《河北雄安新区规划纲要》中,就明确将新材料产业作为发展重点。雄安基金的代表投资案例,是2024年4月由“雄安重大科技成果转化股权投资基金”领投了煜鼎增材。这是一家由中国工程院士、金属3D打印专家王华明院士于2014年创办的企业,主要业务是重大装备大型关键构件高性能金属材料制造。当时这家公司投后估值超33亿元,目前已经在进行上市规划。
上述产业发展规划和投资案例,也暗示了新基金的投资方向。人工智能、航空航天和新材料,无疑是最受关注的赛道。另外生命科学、未来能源、未来产业科技服务等,也是科创基金的覆盖范围。按照雄安基金不断加速的投资节奏,相信也许半年或明年初,就会有更多相关企业落地雄安。
0
第一时间获取股权投资行业新鲜资讯和深度商业分析,请在微信公众账号中搜索投中网,或用手机扫描左侧二维码,即可获得投中网每日精华内容推送。
发表评论
全部评论