宣告“A拆H”5个月后,近千亿市值的声光电龙头企业,正式迈出第一步。
1月20日,歌尔微电子股份有限公司(下称:歌尔微)递交招股书,计划在香港联交所主板上市。这也是该公司创业板IPO撤单8个月后,再次重启IPO。
早在2020年11月,歌尔股份就曾宣告“A拆A”上市计划。然而在2022年10月过会后,歌尔微一直未提交注册,并于2024年5月,正式撤回A股上市申请。
四年多时间,市场风云变幻,歌尔微更难言风光。
头顶“中国第一MEMS传感器企业”光环,歌尔微的业绩在2021年达到高峰后,连续两年下滑,并因2023年“业绩未达标”导致其股权期权激励计划中对应的部分“注销”。
此外在估值方面,早在2021年3月进行Pre-IPO轮融资时,歌尔微的估值就已超200亿元。历经三年多发展,歌尔微在2024年4月的胡润《2024全球独角兽榜》上,仍是一家价值达280亿元的独角兽企业。
换言之,业绩接连下滑、“业绩不达标”阴影下的歌尔微,企业估值似乎也正处于“瓶颈期”。
如今,歌尔股份二度筹划分拆上市,歌尔微转战港交所,急什么?底气何在?
千亿市值龙头,一举拆出逾200亿估值超级独角兽
歌尔股份是中国电声行业龙头企业,也是全球微电声领域领导厂商。
自2010年打入“果链”后,歌尔股份股价、业绩双双驶入快车道。2021年前后,其股价一度接近60元/股,市值最高更是突破2000亿元。截至1月21日收盘,歌尔股份涨8.41%报27.20元/股,总市值945.46亿元。

2008年至今歌尔股份股价走势,来源:雪球
但作为“果链”企业,无论是歌尔股份,还是歌尔微,都存在对苹果的依赖性。近年来,苹果在全球进行供应链调整。当看到其他果链因失去订单跌落时,打破这种依赖,也成为了歌尔股份业务调整的重要方向。
2020年以来,受政策支持,“A拆A”频现,分拆子公司一度成为理顺业务架构、拓宽融资渠道、获得合理估值、提升整体竞争力的重要方式。
分拆歌尔微,正是歌尔股份在多重因素影响下的“未雨绸缪”和“顺势而为”。
结果证明了歌尔股份敏锐的洞察力,2023年,该公司“突然”遭遇了苹果砍单。据其2023年报,歌尔股份当年实现营业收入985.74亿元,同比下滑6.03%,归母净利润为10.88亿,同比下降37.79%。2024年前三季度,歌尔股份营收则为696.46亿元,较上年同期下降5.82%。
经过20多年的发展,歌尔股份逐步发展成为拥有精密零组件、智能声学整机、智能硬件三大主营业务的大型企业。其中,歌尔微正是歌尔股份精密零组件业务的重要组成部分。在重组前,歌尔微的部分销售和采购业务通过歌尔股份下属子公司开展,从而形成了代销和代采关系。
2019年12月,歌尔股份以微电子业务资产包对其全资子公司潍坊微电子进行增资,将微电子业务相关的资产、负债转移至潍坊微电子,随后以潍坊微电子100%股权及荣成微电子100%股权对歌尔微有限增资,从而完成了微电子业务重组。
此后,歌尔微迅速启动客户、供应商认证及合同转签等工作。在递交A股招股书前,该公司就基本完成了该项工作。
背靠歌尔股份,再加上不俗的市场表现,也让歌尔微在资本市场上获得了较高的估值。据悉,在2021年3月,歌尔微进行了Pre-IPO轮融资,微电子创新、共青城春霖、青岛恒汇泰等对公司合计增资约19.50亿元,增资价格为22.86元/股,歌尔集团同样斥资2亿元参与了增资,本轮投资者合计取得歌尔微增资扩股后10.4075%股权。
据此计算,歌尔微此轮融资的估值约206.58亿元,已跻身独角兽行列。如果按照此前歌尔微创业版IPO发行12%股份,募资31.9133亿元计算,其发行估值达265.94亿元。
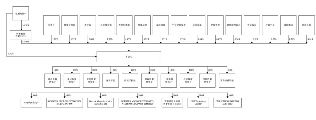
招股书显示,IPO前,歌尔股份直接持有歌尔微83.40%股份,系控股股东。

来源:歌尔微招股书
此外,微电子创新持股为3.93%,唐文波持股2.00%,共青城春霖持股1.93%,宋青林持股1.76%,青岛恒汇泰持股为1.43%,歌尔集团直接持股0.92%。
需要注意的是,近期伴随IPO节奏收紧,“A拆A”在资本市场上逐渐降温,2024年以来,已有上汽集团拆分捷氢科技、大族激光分拆大族富创得、拓邦股份分拆研控自动化、沃尔核材分拆乐庭智联等四家分拆上市计划终止。
如今,歌尔股份二度筹划分拆上市、歌尔微重启IPO赴港上市,或许与后者业绩回暖不无关系。
去年前9月营收超32亿,正努力改善芯片外采依赖
招股书显示,歌尔微是一家智能传感交互解决方案提供商,以一站式智能传感交互平台为核心,能够为消费电子、汽车电子、智能家居、工业应用、医疗健康等领域提供智能化的传感交互体验。
歌尔微构建了一站式平台UniSense,涵盖了材料研发、芯片设计、封装测试、算法软件开发、系统设计等智能传感交互解决方案所有关键技术环节。该平台令歌尔微能够在不同的应用领域快速复用及扩展其全栈能力,使得公司能够根据客户需求以最优的成本提供覆盖传感器、SiP及传感交互模组在内灵活多样的高性能智能传感交互解决方案。
根据CIC的报告,以2023年销售额计,歌尔微是全球第八大、中国第一大智能传感交互解决方案提供商。于往绩记录期间,公司的传感器累计出货量超过40亿颗。以2023年销售额计,歌尔微是全球第四大传感器提供商和全球第一大声学传感器提供商。
歌尔微的解决方案种类丰富,截至2024年9月30日,已超400种,广泛搭载于智能手机、智能耳机、VR/AR设备、智能汽车及智能家居等约30种智能终端,根据CIC的报告,公司是中国智能传感交互解决方案组合最丰富的提供商。其主要终端客户包括苹果、荣耀、小米、OPPO、哈曼、法雷奥等,并与Meta、蔚来、大疆等客户建立了业务关系。
招股书显示,2019-2023年及2024年前三季度(下称:报告期),歌尔微的营业收入分别约为25.66亿、31.60亿、33.48亿、31.21亿、30.01亿、32.66亿元,归母净利润/期内利润分别约为3.09亿、3.46亿、3.29亿、3.26亿、2.89亿、2.43亿元。

来源:歌尔微招股书
不难看出,在经历2021年的高峰后,歌尔微曾连续两年业绩下滑。基于此,歌尔股份也在2023年财报中提到:因子公司歌尔微2023年度业绩未达标,其2020年股权期权激励计划第三个行权期未达行权条件,歌尔微已将对应的股权期权进行注销。
2024年前三季度业绩大幅回暖,歌尔微方面表示,主要归因于毛利增加,主要由于消费电子行业的市场需求增加及推出性能更高、价格更高的传感器,导致传感器的销量增加及平均售价上涨;用于耳机的SiP解决方案出货量增加;车载类传感模组和消费类传感模组销售增加。
需要注意的是,潜藏在业绩波动之下,歌尔微“外购芯片”,仍需保持关注。
歌尔微自身,也在风险提示中提到,假如“公司无法以及时且具成本效益的方式取得关键材料或元器件,特别是芯片,或无法提高自研芯片的利用率,我们解决方案的质量、生产及销售可能会受到重大不利影响”。
所谓外购芯片业务,即歌尔微就外购芯片的参数、工艺向供应商提出建议,对供应商芯片进行设计变更,与外购芯片供应商共同开发适合客户产品的芯片。
招股书显示,报告期内,歌尔微向英飞凌采购金额分别约为14.08亿、15.86亿、15.44亿、12.12亿、9.11亿、14.55亿元,占采购总额的比例分别为64.81%、65.40%、58.78%、52.7%、47.2%、55.7%。
在业务开展中,歌尔微芯片原材料以外购为主、自研为辅。根据此前歌尔微A股招股书,2019-2022年,公司搭载自研芯片的MEMS产品合计出货量分别为2.38亿、2.49亿、1.92亿、1.46亿颗,总体呈下降趋势。当然,歌尔微也在积极寻求改变。截至2024年9月30日,公司搭载自研芯片的传感器出货量猛增至4.47亿颗,占同期总出货量的29.7%。
受自研芯片比例较小的影响,歌尔微毛利率一直处于较低水平。报告期内,公司毛利率分别为22.85%、22.37%、22.87%、18.5%、17.2%、19.4%。作为对比,仅2020年至2023年上半年,歌尔微可比同行的平均毛利率就分别为45.27%、44.08%、45.23%、47.10%。
值得一提的是,自研芯片自然与研发投入呈正相关。招股书显示,报告期内,歌尔微的研发投入分别约为1.15亿、2.04亿、2.65亿、2.59亿、2.64亿、2.24亿元,呈逐年上涨趋势。
截至2024年9月30日,歌尔微持有的现金及现金等价物为20.49亿元。
千亿市值龙头,谋求子业务IPO
四年前估值已超200亿。
宣告“A拆H”5个月后,近千亿市值的声光电龙头企业,正式迈出第一步。
1月20日,歌尔微电子股份有限公司(下称:歌尔微)递交招股书,计划在香港联交所主板上市。这也是该公司创业板IPO撤单8个月后,再次重启IPO。
早在2020年11月,歌尔股份就曾宣告“A拆A”上市计划。然而在2022年10月过会后,歌尔微一直未提交注册,并于2024年5月,正式撤回A股上市申请。
四年多时间,市场风云变幻,歌尔微更难言风光。
头顶“中国第一MEMS传感器企业”光环,歌尔微的业绩在2021年达到高峰后,连续两年下滑,并因2023年“业绩未达标”导致其股权期权激励计划中对应的部分“注销”。
此外在估值方面,早在2021年3月进行Pre-IPO轮融资时,歌尔微的估值就已超200亿元。历经三年多发展,歌尔微在2024年4月的胡润《2024全球独角兽榜》上,仍是一家价值达280亿元的独角兽企业。
换言之,业绩接连下滑、“业绩不达标”阴影下的歌尔微,企业估值似乎也正处于“瓶颈期”。
如今,歌尔股份二度筹划分拆上市,歌尔微转战港交所,急什么?底气何在?
千亿市值龙头,一举拆出逾200亿估值超级独角兽
歌尔股份是中国电声行业龙头企业,也是全球微电声领域领导厂商。
自2010年打入“果链”后,歌尔股份股价、业绩双双驶入快车道。2021年前后,其股价一度接近60元/股,市值最高更是突破2000亿元。截至1月21日收盘,歌尔股份涨8.41%报27.20元/股,总市值945.46亿元。
2008年至今歌尔股份股价走势,来源:雪球
但作为“果链”企业,无论是歌尔股份,还是歌尔微,都存在对苹果的依赖性。近年来,苹果在全球进行供应链调整。当看到其他果链因失去订单跌落时,打破这种依赖,也成为了歌尔股份业务调整的重要方向。
2020年以来,受政策支持,“A拆A”频现,分拆子公司一度成为理顺业务架构、拓宽融资渠道、获得合理估值、提升整体竞争力的重要方式。
分拆歌尔微,正是歌尔股份在多重因素影响下的“未雨绸缪”和“顺势而为”。
结果证明了歌尔股份敏锐的洞察力,2023年,该公司“突然”遭遇了苹果砍单。据其2023年报,歌尔股份当年实现营业收入985.74亿元,同比下滑6.03%,归母净利润为10.88亿,同比下降37.79%。2024年前三季度,歌尔股份营收则为696.46亿元,较上年同期下降5.82%。
经过20多年的发展,歌尔股份逐步发展成为拥有精密零组件、智能声学整机、智能硬件三大主营业务的大型企业。其中,歌尔微正是歌尔股份精密零组件业务的重要组成部分。在重组前,歌尔微的部分销售和采购业务通过歌尔股份下属子公司开展,从而形成了代销和代采关系。
2019年12月,歌尔股份以微电子业务资产包对其全资子公司潍坊微电子进行增资,将微电子业务相关的资产、负债转移至潍坊微电子,随后以潍坊微电子100%股权及荣成微电子100%股权对歌尔微有限增资,从而完成了微电子业务重组。
此后,歌尔微迅速启动客户、供应商认证及合同转签等工作。在递交A股招股书前,该公司就基本完成了该项工作。
背靠歌尔股份,再加上不俗的市场表现,也让歌尔微在资本市场上获得了较高的估值。据悉,在2021年3月,歌尔微进行了Pre-IPO轮融资,微电子创新、共青城春霖、青岛恒汇泰等对公司合计增资约19.50亿元,增资价格为22.86元/股,歌尔集团同样斥资2亿元参与了增资,本轮投资者合计取得歌尔微增资扩股后10.4075%股权。
据此计算,歌尔微此轮融资的估值约206.58亿元,已跻身独角兽行列。如果按照此前歌尔微创业版IPO发行12%股份,募资31.9133亿元计算,其发行估值达265.94亿元。
招股书显示,IPO前,歌尔股份直接持有歌尔微83.40%股份,系控股股东。
来源:歌尔微招股书
此外,微电子创新持股为3.93%,唐文波持股2.00%,共青城春霖持股1.93%,宋青林持股1.76%,青岛恒汇泰持股为1.43%,歌尔集团直接持股0.92%。
需要注意的是,近期伴随IPO节奏收紧,“A拆A”在资本市场上逐渐降温,2024年以来,已有上汽集团拆分捷氢科技、大族激光分拆大族富创得、拓邦股份分拆研控自动化、沃尔核材分拆乐庭智联等四家分拆上市计划终止。
如今,歌尔股份二度筹划分拆上市、歌尔微重启IPO赴港上市,或许与后者业绩回暖不无关系。
去年前9月营收超32亿,正努力改善芯片外采依赖
招股书显示,歌尔微是一家智能传感交互解决方案提供商,以一站式智能传感交互平台为核心,能够为消费电子、汽车电子、智能家居、工业应用、医疗健康等领域提供智能化的传感交互体验。
歌尔微构建了一站式平台UniSense,涵盖了材料研发、芯片设计、封装测试、算法软件开发、系统设计等智能传感交互解决方案所有关键技术环节。该平台令歌尔微能够在不同的应用领域快速复用及扩展其全栈能力,使得公司能够根据客户需求以最优的成本提供覆盖传感器、SiP及传感交互模组在内灵活多样的高性能智能传感交互解决方案。
根据CIC的报告,以2023年销售额计,歌尔微是全球第八大、中国第一大智能传感交互解决方案提供商。于往绩记录期间,公司的传感器累计出货量超过40亿颗。以2023年销售额计,歌尔微是全球第四大传感器提供商和全球第一大声学传感器提供商。
歌尔微的解决方案种类丰富,截至2024年9月30日,已超400种,广泛搭载于智能手机、智能耳机、VR/AR设备、智能汽车及智能家居等约30种智能终端,根据CIC的报告,公司是中国智能传感交互解决方案组合最丰富的提供商。其主要终端客户包括苹果、荣耀、小米、OPPO、哈曼、法雷奥等,并与Meta、蔚来、大疆等客户建立了业务关系。
招股书显示,2019-2023年及2024年前三季度(下称:报告期),歌尔微的营业收入分别约为25.66亿、31.60亿、33.48亿、31.21亿、30.01亿、32.66亿元,归母净利润/期内利润分别约为3.09亿、3.46亿、3.29亿、3.26亿、2.89亿、2.43亿元。
来源:歌尔微招股书
不难看出,在经历2021年的高峰后,歌尔微曾连续两年业绩下滑。基于此,歌尔股份也在2023年财报中提到:因子公司歌尔微2023年度业绩未达标,其2020年股权期权激励计划第三个行权期未达行权条件,歌尔微已将对应的股权期权进行注销。
2024年前三季度业绩大幅回暖,歌尔微方面表示,主要归因于毛利增加,主要由于消费电子行业的市场需求增加及推出性能更高、价格更高的传感器,导致传感器的销量增加及平均售价上涨;用于耳机的SiP解决方案出货量增加;车载类传感模组和消费类传感模组销售增加。
需要注意的是,潜藏在业绩波动之下,歌尔微“外购芯片”,仍需保持关注。
歌尔微自身,也在风险提示中提到,假如“公司无法以及时且具成本效益的方式取得关键材料或元器件,特别是芯片,或无法提高自研芯片的利用率,我们解决方案的质量、生产及销售可能会受到重大不利影响”。
所谓外购芯片业务,即歌尔微就外购芯片的参数、工艺向供应商提出建议,对供应商芯片进行设计变更,与外购芯片供应商共同开发适合客户产品的芯片。
招股书显示,报告期内,歌尔微向英飞凌采购金额分别约为14.08亿、15.86亿、15.44亿、12.12亿、9.11亿、14.55亿元,占采购总额的比例分别为64.81%、65.40%、58.78%、52.7%、47.2%、55.7%。
在业务开展中,歌尔微芯片原材料以外购为主、自研为辅。根据此前歌尔微A股招股书,2019-2022年,公司搭载自研芯片的MEMS产品合计出货量分别为2.38亿、2.49亿、1.92亿、1.46亿颗,总体呈下降趋势。当然,歌尔微也在积极寻求改变。截至2024年9月30日,公司搭载自研芯片的传感器出货量猛增至4.47亿颗,占同期总出货量的29.7%。
受自研芯片比例较小的影响,歌尔微毛利率一直处于较低水平。报告期内,公司毛利率分别为22.85%、22.37%、22.87%、18.5%、17.2%、19.4%。作为对比,仅2020年至2023年上半年,歌尔微可比同行的平均毛利率就分别为45.27%、44.08%、45.23%、47.10%。
值得一提的是,自研芯片自然与研发投入呈正相关。招股书显示,报告期内,歌尔微的研发投入分别约为1.15亿、2.04亿、2.65亿、2.59亿、2.64亿、2.24亿元,呈逐年上涨趋势。
截至2024年9月30日,歌尔微持有的现金及现金等价物为20.49亿元。
0
第一时间获取股权投资行业新鲜资讯和深度商业分析,请在微信公众账号中搜索投中网,或用手机扫描左侧二维码,即可获得投中网每日精华内容推送。
发表评论
全部评论