前不久,一则有关杭州娃哈哈集团的工商变更,就引发了外界的关注。
宗庆后卸任法定代表人、董事长兼总经理职务,均由宗馥莉接任。这意味着,在父亲去世后,宗馥莉历经大半年的时间,终于接管了父亲手里的股权,开始全面掌舵娃哈哈集团。
而9月7日娃哈哈官方的一纸声明,又再次将娃哈哈和宗馥莉置于舆论的风口浪尖。此番,与宗馥莉立场相对的,是部分长期服务于娃哈哈的老员工们。
娃哈哈的传承之路,看来注定坎坷。大股东们考虑外部压力和舆论影响,最终确认了宗馥莉对于娃哈哈的绝对领导权和继承的正当性。但是那些真正经历了宗庆后时代的老员工们,却又将她的做法视为一种背离。这种内外交加的矛盾,或许是出乎所有人的意料。
新上任的火把烧到了员工的利益
近期,有媒体报道,由于娃哈哈集团近期要求员工重新签署劳动合同、以较低价格回收员工持股会股权,致使娃哈哈集团职工权益受到损害,不得不自发成立维权会,依法拿起法律武器保护自身权利。
据报道,2024年8月份开始,娃哈哈集团员工陆续被要求终止与娃哈哈集团的合同,转而改为与宏胜饮料集团有限公司签订劳动合同,改签劳动合同以后,员工在娃哈哈集团享有的“干股分红”待遇被彻底取消,众多员工十分担心自己的未来收入也没法得到保障。这也是引发娃哈哈员工集体诉讼的导火索之一。
多名娃哈哈在职员工对媒体表示,8月中下旬,部分员工自发组建了娃哈哈维权会,现在已有600多人参与,包括了娃哈哈集团的创业元老、退休员工、离职员工和在职员工,其中几十名员工以集体诉讼的方式将杭州娃哈哈集团有限公司和宗馥莉起诉至上城区人民法院,目前法院已经受理,但未正式立案,而参与诉讼的几十人中既有在职员工,也有离职员工。
对此,9月7日,娃哈哈集团在官微发布声明称,工会从未听说“娃哈哈维权委员会”的相关信息,目前工会也未收到所谓“娃哈哈维权委员会”提起的诉讼信息。集团职工持股会内部股份回购事宜经过会员代表大会全体决议通过,相关协议由持股会会员自愿签署,合法有效,不存在损害持股会会员的情形。

图片来源:娃哈哈集团官方微博
而针对声明中提到的萧山顺发股权转让问题。钛媒体APP查询企查查显示,8月16日,也就是在宗馥莉接任娃哈哈集团之前,杭州萧山顺发食品包装有限公司发生工商变更,杭州娃哈哈集团公司有限公司基层工会联合委员会的全部34.53%持股,尽数转移到了宗馥莉名下。再加上继承宗庆后的65.47%持股,目前,宗馥莉对萧山顺发的持股比例为100%。

图片来源:企查查
萧山顺发作为娃哈哈集团的关键投资臂膀,原来持有其34.53%的股份,使娃哈哈职工持股会背后的员工们得以享受来自该投资的丰厚回报。而如今长期的丰厚回报就这么没了。并且,有娃哈哈集团员工对媒体表示,此次股权转让的对价是0元。而此次娃哈哈的声明中,也尚未对员工的“0元质疑”作出解释。
如此来看,部分娃哈哈集团员工之所以对宗馥莉不满,归根结底还是因为新官上任的第一把火,就烧到了员工的利益。而员工们的不满,更多是对自身权益可能受损的担忧与抗争,而非单纯针对宗馥莉个人。
一名娃哈哈内部员工也对相关媒体表示:“新老板接手以后,对员工的管理更为严格,特别是老员工,他们会觉得自己的切身利益受到影响。”
新老交替,自己人入场
回顾宗馥莉的接任之路,暗流与博弈交织,不过最终一切都在8月末尘埃落定,这场继承风波也终于落幕。有网友评论称:“宗馥莉这是以宗馥·钮钴禄·莉之姿回归啊!”
原本在2月宗庆后去世后,女儿宗馥莉接班在外界看来是板上钉钉的事。未料,随后的5个月,宗馥莉的主动请辞,无疑是直接将其接班过程中所面临的困境公之于众。没过几日,事情发生反转,娃哈哈官网发表声明称,宗馥莉决定继续履行娃哈哈集团的相关管理职责。但股权的归属问题并没有得到解决,董事长的职位也长时间空缺未决。
8月31日,企查查查App显示,娃哈哈集团的法人代表,正式从宗庆后变更为宗馥莉,全面接手了宗庆后所持娃哈哈集团29.4%的股份,并出任公司董事长和总经理等职务。企查查上,宗馥莉的标签是“实际控制人”“受益所有人”。实际控制人通常对于公司而言,可以实际支配公司行为,具有支配性影响力。
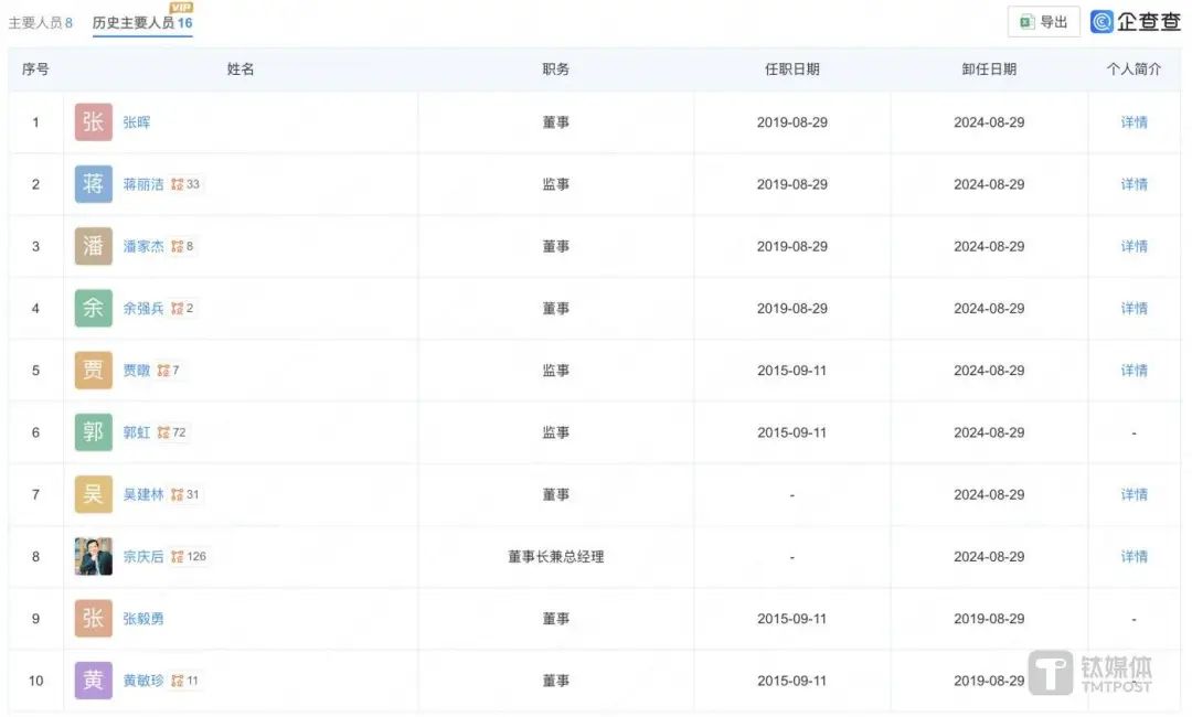
与股权变更一起,还有管理层的洗牌。从人事变动来看,退出的四位董事——吴建林、潘家杰、余强兵和张晖,前三者都是从基层一步步做到管理层的,也是娃哈哈富有经验的老臣,张晖则为大股东上城资本的投资方代表。除了吴建林任职董事的日期不详外,其余三位刚好任期满5年。另外,还有贾暾、郭虹、蒋丽洁三名监事退出,这三位的任期均长达5-10年左右。这算不算也是一个巧合?

图片来源:企查查
吴建林是娃哈哈最早一批大学生员工,自公司创立初期便加入,在娃哈哈30多年,担任过集团董事、党委书记及常务副总经理等重要职务。潘家杰同样在娃哈哈工作超过30年,从供应部基层做起,随后凭借卓越表现晋升为运营负责人,并曾任集团董事、副总经理。余强兵则从娃哈哈西北片区起步,凭借出色能力一路晋升至集团技术负责人的高位。
而张晖,作为大股东上城文旅的代表,他不仅是双方合作的桥梁,也促进了上城文旅与娃哈哈集团之间的紧密合作。
此次新增的叶雅琼、洪婵婵、王国祥、费军伟四位董事,以及孔沁铭、尹绪琼、许思敏三位监事。根据企查查的信息,新增的七人商业履历都很简单。

图片来源:企查查
费军伟不必多说,代表集团大股东上城文旅,接替从董事会退出的张晖,现在的职务是上城文商旅投资集团的董事,属于国资代表。
其余6人中,有4人的任职经历都只有娃哈哈集团这一家公司。
王国祥作为宗庆后创业初期的老臣,多年来始终担任娃哈哈集团副总经理一职,是集团发展历程中的关键人物。在外界眼中,王国祥不仅具备深厚的资历,更被视为代表员工持股平台中娃哈哈老股东利益的重要人物。
现任娃哈哈集团政务中心总监叶雅琼最近三年连升三级,曾在销售公司和营销中心担任要职,与宗馥莉的营销战略相呼应,毕竟此前宗馥莉在营销方面倾注了不少心血。
洪婵婵作为宏胜饮料集团财务部部长的身份也引人注目。宏胜饮料集团近年来在宗馥莉的掌舵下稳健发展,作为宗氏家族企业的一部分,其财务重任一直由洪婵婵承担。而此次,洪婵婵在娃哈哈集团的上任,大概率是帮宗馥莉“管钱”的。
而凤凰网《风暴眼》曾在7月报道的娃哈哈集团的多位核心人员不再担任要职,取而代之的是宗馥莉控股的宏胜饮料集团的骨干。其中,提到了祝丽丹、严学峰、丁秀娟这三个关键人物,他们均来自宗馥莉宏胜饮料集团。而上述三人并不在这一轮新增的7人当中。
不过,董事会席位的分配大概率是企业内部及外部各方力量博弈与妥协的结果。毕竟,这不仅仅是职位的分配,更是企业控制权、利益分配及未来发展方向的重要体现。
是否会在新舞台完成“复制粘贴”?
其实,宗馥莉在未进入娃哈哈核心管理层之前,就已创办了许多属于自己的企业和品牌,有依附娃哈哈做上游产业加工的企业,也有独立饮品品牌。
在留学归国之后,宗馥莉先进入到了娃哈哈基层锻炼和工作,开始了在食品饮料行业的摸爬滚打。随后在其父亲宗庆后的支持下,开启了自己的“接班型创业”。2007年起,她开始独立执掌宏胜饮料集团,大刀阔斧地进行资源整合,从拿地、购买设备、打造团队、建立厂房,再到全国各地建厂。
公开资料显示,宏盛饮料集团其业务主要分为两个部分:一部分业务就是宗馥莉创办的自有品牌,例如业内较为熟悉的饮料品牌KellyOne。另一部分业务则是承担了娃哈哈的上游产品加工及其他业务。在娃哈哈的加持和宗馥莉的经营下,宏胜饮料集团很快就成长为浙江百强民营企业之一,营收早已超过百亿元。2018年后,宏胜打通了食源配料研发、高端装备制造、饮料灌装生产、包装印刷、物流仓储、品牌营销等食品饮料行业全链路。
2022年,宏盛饮料集团董事长职位由祝丽丹接任,并担任法定代表人,宗馥莉则变为宏胜饮料集团的执行董事。值得注意的是,宗馥莉卸任宏胜饮料集团董事长的时间,正是其进入娃哈哈核心管理层,开始逐步接手娃哈哈日常工作的节点。
彼时宗馥莉继已任娃哈哈总经理,在她的推动下,娃哈哈多次进行多元化的尝试。从打造娃哈哈IP大单品的策略,到与二次元、电竞、潮玩等圈层,到AD钙奶味奶心月饼,再到跨界彩妆盘等,都表明了宗馥莉努力让娃哈哈品牌更加年轻化和时尚化,试图一改娃哈哈老牌作风的决心。
其实宗馥莉曾多次在公开场合表示,并不认同宗庆后以及娃哈哈的经营思路,应该向喜茶、农夫山泉借鉴和学习。同时也表示她的管理风格与父亲不同,自己更为严格。未来娃哈哈应该采取职业经理人的模式,老板可以被弹劾和替换。
拥有“80后”的时代烙印,并接受西方教育而被赋予了鲜明的西方化特质,让宗馥莉行事讲求效率,勇于表达自我。在过去的很多年,她都始终在证明着自己与父亲的不同。
就在2016年,宗馥莉推出个性化定制果蔬汁,独创定制饮料品牌KellyOne,成为国内第一家推出饮料定制概念的品牌。该产品是首次尝试将中央厨房及其他概念引入到饮品行业,但最终该产品因反应平平而被终止。当时行业普遍认为,宗馥莉在该产品的理念过于超前,短时间内,国内饮品市场的消费逻辑很难与其匹配。
还有一个当时引起轰动的事件,便是换掉了长达近20年的娃哈哈代言人王力宏。宗馥莉曾在节目中公开表示,娃哈哈用了王力宏接近20年,观众已经产生审美疲劳。所以,她想换掉王力宏。
2017年,宗馥莉对于中国糖果的收购案,最终以失败告终。而宗庆后在掌舵娃哈哈期间,曾对外界表示娃哈哈并无上市的意图。也再次印证了父女在公司经营思路方面的差异。
如今,宗馥莉正式接手娃哈哈,迎来更大的舞台施展,而股权回购引发舆论风波背后,宗馥莉新管理模式的落地也在接受考验。
宗庆后去世后,娃哈哈的市场表现经历了明显的波动。宗庆后的离世在初期确实触动了公众情感,为娃哈哈品牌带来了一波情感驱动的销售高潮。然而,这种情感红利并未能转化为长期稳定的市场增长动力。
于是在3月,宗馥莉开始实施一系列战略调整,其中包括重构线下销售渠道,主动发力拓展市场,特别是冰柜的投放。一场市场争夺战,也在近日娃哈哈官网发布“招标10万个冰柜”的公告中拉开了序幕。
今年夏天,极端高温天气加剧了饮料市场的竞争态势,价格战愈演愈烈。在这场白热化的商战中,冰柜作为展示与销售的前沿阵地,成为了各大饮料企业竞相争夺的焦点。据尼尔森IQ数据显示,79%的消费者在夏季会选择购买冰冻饮料,而81%的消费者会因为目标饮品非冰冻而选择其他公司的冰冻产品。在终端店投放冰柜可以显著提升售点销量,增加产品的曝光率和购买决策率。
要知道,长期以来娃哈哈在冰柜投放策略上一直秉持着审慎原则,这与前任掌门人宗庆后的策略一脉相承。但自宗馥莉接任董事长以来,她展现了截然不同的魄力,果断地在冰柜领域加大投入,这无疑是娃哈哈在业务战略上的新动向。
不管是业内还是外界,普遍将关注点聚焦于宗馥莉接手娃哈哈如何规划并推动其未来发展,尤其是在面对快速变化的市场环境和消费者需求时,如何有效平衡传统与创新的平衡,以实现持续增长与竞争力提升。
毕竟,相较于同行业其他饮料企业,娃哈哈在较大程度上依赖于其传统产品线这点不容忽视。宗馥莉也曾对媒体表示,“我更想要去做一些创新,包括产品创新、渠道创新、营销创新等。作为产品提供者,我更想为消费者带来更好的东西,否则做这一切就没有意义了。”
此前,无糖饮料爆火,此前,宗馥莉迅速引领娃哈哈旗下的“一茶”无糖茶品牌强势入局。不仅加大了市场推广的力度,还特别注重在一线城市及二线城市的布局与渗透,显著提升了市场覆盖率。“马上赢”调研数据显示,娃哈哈在无糖茶市场的份额排名,从2023年4-5月份的前13名之外,已经攀升到了2024年4-5月份的第9名。不过相比于价格相近的同品类竞品,从线上平台来看,销量就表现一般了。
中国饮料行业高速增长的时代已经过去,行业市场竞争日渐加剧,娃哈哈未来所面临的市场压力并不小。在此背景下,宗馥莉完成了与父亲时代的平稳过渡,正式开启了属于她个人的饮料事业新篇章。对于全面接手娃哈哈的宗馥莉而言,她不仅要敏锐捕捉并有效利用市场中的每一个流量机遇,更需深谋远虑,探索并打造出属于娃哈哈的独特“顶流”产品。
宗馥莉又遇上麻烦了
娃哈哈的传承之路,看来注定坎坷。
前不久,一则有关杭州娃哈哈集团的工商变更,就引发了外界的关注。
宗庆后卸任法定代表人、董事长兼总经理职务,均由宗馥莉接任。这意味着,在父亲去世后,宗馥莉历经大半年的时间,终于接管了父亲手里的股权,开始全面掌舵娃哈哈集团。
而9月7日娃哈哈官方的一纸声明,又再次将娃哈哈和宗馥莉置于舆论的风口浪尖。此番,与宗馥莉立场相对的,是部分长期服务于娃哈哈的老员工们。
娃哈哈的传承之路,看来注定坎坷。大股东们考虑外部压力和舆论影响,最终确认了宗馥莉对于娃哈哈的绝对领导权和继承的正当性。但是那些真正经历了宗庆后时代的老员工们,却又将她的做法视为一种背离。这种内外交加的矛盾,或许是出乎所有人的意料。
新上任的火把烧到了员工的利益
近期,有媒体报道,由于娃哈哈集团近期要求员工重新签署劳动合同、以较低价格回收员工持股会股权,致使娃哈哈集团职工权益受到损害,不得不自发成立维权会,依法拿起法律武器保护自身权利。
据报道,2024年8月份开始,娃哈哈集团员工陆续被要求终止与娃哈哈集团的合同,转而改为与宏胜饮料集团有限公司签订劳动合同,改签劳动合同以后,员工在娃哈哈集团享有的“干股分红”待遇被彻底取消,众多员工十分担心自己的未来收入也没法得到保障。这也是引发娃哈哈员工集体诉讼的导火索之一。
多名娃哈哈在职员工对媒体表示,8月中下旬,部分员工自发组建了娃哈哈维权会,现在已有600多人参与,包括了娃哈哈集团的创业元老、退休员工、离职员工和在职员工,其中几十名员工以集体诉讼的方式将杭州娃哈哈集团有限公司和宗馥莉起诉至上城区人民法院,目前法院已经受理,但未正式立案,而参与诉讼的几十人中既有在职员工,也有离职员工。
对此,9月7日,娃哈哈集团在官微发布声明称,工会从未听说“娃哈哈维权委员会”的相关信息,目前工会也未收到所谓“娃哈哈维权委员会”提起的诉讼信息。集团职工持股会内部股份回购事宜经过会员代表大会全体决议通过,相关协议由持股会会员自愿签署,合法有效,不存在损害持股会会员的情形。
图片来源:娃哈哈集团官方微博
而针对声明中提到的萧山顺发股权转让问题。钛媒体APP查询企查查显示,8月16日,也就是在宗馥莉接任娃哈哈集团之前,杭州萧山顺发食品包装有限公司发生工商变更,杭州娃哈哈集团公司有限公司基层工会联合委员会的全部34.53%持股,尽数转移到了宗馥莉名下。再加上继承宗庆后的65.47%持股,目前,宗馥莉对萧山顺发的持股比例为100%。
图片来源:企查查
萧山顺发作为娃哈哈集团的关键投资臂膀,原来持有其34.53%的股份,使娃哈哈职工持股会背后的员工们得以享受来自该投资的丰厚回报。而如今长期的丰厚回报就这么没了。并且,有娃哈哈集团员工对媒体表示,此次股权转让的对价是0元。而此次娃哈哈的声明中,也尚未对员工的“0元质疑”作出解释。
如此来看,部分娃哈哈集团员工之所以对宗馥莉不满,归根结底还是因为新官上任的第一把火,就烧到了员工的利益。而员工们的不满,更多是对自身权益可能受损的担忧与抗争,而非单纯针对宗馥莉个人。
一名娃哈哈内部员工也对相关媒体表示:“新老板接手以后,对员工的管理更为严格,特别是老员工,他们会觉得自己的切身利益受到影响。”
新老交替,自己人入场
回顾宗馥莉的接任之路,暗流与博弈交织,不过最终一切都在8月末尘埃落定,这场继承风波也终于落幕。有网友评论称:“宗馥莉这是以宗馥·钮钴禄·莉之姿回归啊!”
原本在2月宗庆后去世后,女儿宗馥莉接班在外界看来是板上钉钉的事。未料,随后的5个月,宗馥莉的主动请辞,无疑是直接将其接班过程中所面临的困境公之于众。没过几日,事情发生反转,娃哈哈官网发表声明称,宗馥莉决定继续履行娃哈哈集团的相关管理职责。但股权的归属问题并没有得到解决,董事长的职位也长时间空缺未决。
8月31日,企查查查App显示,娃哈哈集团的法人代表,正式从宗庆后变更为宗馥莉,全面接手了宗庆后所持娃哈哈集团29.4%的股份,并出任公司董事长和总经理等职务。企查查上,宗馥莉的标签是“实际控制人”“受益所有人”。实际控制人通常对于公司而言,可以实际支配公司行为,具有支配性影响力。
与股权变更一起,还有管理层的洗牌。从人事变动来看,退出的四位董事——吴建林、潘家杰、余强兵和张晖,前三者都是从基层一步步做到管理层的,也是娃哈哈富有经验的老臣,张晖则为大股东上城资本的投资方代表。除了吴建林任职董事的日期不详外,其余三位刚好任期满5年。另外,还有贾暾、郭虹、蒋丽洁三名监事退出,这三位的任期均长达5-10年左右。这算不算也是一个巧合?
图片来源:企查查
吴建林是娃哈哈最早一批大学生员工,自公司创立初期便加入,在娃哈哈30多年,担任过集团董事、党委书记及常务副总经理等重要职务。潘家杰同样在娃哈哈工作超过30年,从供应部基层做起,随后凭借卓越表现晋升为运营负责人,并曾任集团董事、副总经理。余强兵则从娃哈哈西北片区起步,凭借出色能力一路晋升至集团技术负责人的高位。
而张晖,作为大股东上城文旅的代表,他不仅是双方合作的桥梁,也促进了上城文旅与娃哈哈集团之间的紧密合作。
此次新增的叶雅琼、洪婵婵、王国祥、费军伟四位董事,以及孔沁铭、尹绪琼、许思敏三位监事。根据企查查的信息,新增的七人商业履历都很简单。
图片来源:企查查
费军伟不必多说,代表集团大股东上城文旅,接替从董事会退出的张晖,现在的职务是上城文商旅投资集团的董事,属于国资代表。
其余6人中,有4人的任职经历都只有娃哈哈集团这一家公司。
王国祥作为宗庆后创业初期的老臣,多年来始终担任娃哈哈集团副总经理一职,是集团发展历程中的关键人物。在外界眼中,王国祥不仅具备深厚的资历,更被视为代表员工持股平台中娃哈哈老股东利益的重要人物。
现任娃哈哈集团政务中心总监叶雅琼最近三年连升三级,曾在销售公司和营销中心担任要职,与宗馥莉的营销战略相呼应,毕竟此前宗馥莉在营销方面倾注了不少心血。
洪婵婵作为宏胜饮料集团财务部部长的身份也引人注目。宏胜饮料集团近年来在宗馥莉的掌舵下稳健发展,作为宗氏家族企业的一部分,其财务重任一直由洪婵婵承担。而此次,洪婵婵在娃哈哈集团的上任,大概率是帮宗馥莉“管钱”的。
而凤凰网《风暴眼》曾在7月报道的娃哈哈集团的多位核心人员不再担任要职,取而代之的是宗馥莉控股的宏胜饮料集团的骨干。其中,提到了祝丽丹、严学峰、丁秀娟这三个关键人物,他们均来自宗馥莉宏胜饮料集团。而上述三人并不在这一轮新增的7人当中。
不过,董事会席位的分配大概率是企业内部及外部各方力量博弈与妥协的结果。毕竟,这不仅仅是职位的分配,更是企业控制权、利益分配及未来发展方向的重要体现。
是否会在新舞台完成“复制粘贴”?
其实,宗馥莉在未进入娃哈哈核心管理层之前,就已创办了许多属于自己的企业和品牌,有依附娃哈哈做上游产业加工的企业,也有独立饮品品牌。
在留学归国之后,宗馥莉先进入到了娃哈哈基层锻炼和工作,开始了在食品饮料行业的摸爬滚打。随后在其父亲宗庆后的支持下,开启了自己的“接班型创业”。2007年起,她开始独立执掌宏胜饮料集团,大刀阔斧地进行资源整合,从拿地、购买设备、打造团队、建立厂房,再到全国各地建厂。
公开资料显示,宏盛饮料集团其业务主要分为两个部分:一部分业务就是宗馥莉创办的自有品牌,例如业内较为熟悉的饮料品牌KellyOne。另一部分业务则是承担了娃哈哈的上游产品加工及其他业务。在娃哈哈的加持和宗馥莉的经营下,宏胜饮料集团很快就成长为浙江百强民营企业之一,营收早已超过百亿元。2018年后,宏胜打通了食源配料研发、高端装备制造、饮料灌装生产、包装印刷、物流仓储、品牌营销等食品饮料行业全链路。
2022年,宏盛饮料集团董事长职位由祝丽丹接任,并担任法定代表人,宗馥莉则变为宏胜饮料集团的执行董事。值得注意的是,宗馥莉卸任宏胜饮料集团董事长的时间,正是其进入娃哈哈核心管理层,开始逐步接手娃哈哈日常工作的节点。
彼时宗馥莉继已任娃哈哈总经理,在她的推动下,娃哈哈多次进行多元化的尝试。从打造娃哈哈IP大单品的策略,到与二次元、电竞、潮玩等圈层,到AD钙奶味奶心月饼,再到跨界彩妆盘等,都表明了宗馥莉努力让娃哈哈品牌更加年轻化和时尚化,试图一改娃哈哈老牌作风的决心。
其实宗馥莉曾多次在公开场合表示,并不认同宗庆后以及娃哈哈的经营思路,应该向喜茶、农夫山泉借鉴和学习。同时也表示她的管理风格与父亲不同,自己更为严格。未来娃哈哈应该采取职业经理人的模式,老板可以被弹劾和替换。
拥有“80后”的时代烙印,并接受西方教育而被赋予了鲜明的西方化特质,让宗馥莉行事讲求效率,勇于表达自我。在过去的很多年,她都始终在证明着自己与父亲的不同。
就在2016年,宗馥莉推出个性化定制果蔬汁,独创定制饮料品牌KellyOne,成为国内第一家推出饮料定制概念的品牌。该产品是首次尝试将中央厨房及其他概念引入到饮品行业,但最终该产品因反应平平而被终止。当时行业普遍认为,宗馥莉在该产品的理念过于超前,短时间内,国内饮品市场的消费逻辑很难与其匹配。
还有一个当时引起轰动的事件,便是换掉了长达近20年的娃哈哈代言人王力宏。宗馥莉曾在节目中公开表示,娃哈哈用了王力宏接近20年,观众已经产生审美疲劳。所以,她想换掉王力宏。
2017年,宗馥莉对于中国糖果的收购案,最终以失败告终。而宗庆后在掌舵娃哈哈期间,曾对外界表示娃哈哈并无上市的意图。也再次印证了父女在公司经营思路方面的差异。
如今,宗馥莉正式接手娃哈哈,迎来更大的舞台施展,而股权回购引发舆论风波背后,宗馥莉新管理模式的落地也在接受考验。
宗庆后去世后,娃哈哈的市场表现经历了明显的波动。宗庆后的离世在初期确实触动了公众情感,为娃哈哈品牌带来了一波情感驱动的销售高潮。然而,这种情感红利并未能转化为长期稳定的市场增长动力。
于是在3月,宗馥莉开始实施一系列战略调整,其中包括重构线下销售渠道,主动发力拓展市场,特别是冰柜的投放。一场市场争夺战,也在近日娃哈哈官网发布“招标10万个冰柜”的公告中拉开了序幕。
今年夏天,极端高温天气加剧了饮料市场的竞争态势,价格战愈演愈烈。在这场白热化的商战中,冰柜作为展示与销售的前沿阵地,成为了各大饮料企业竞相争夺的焦点。据尼尔森IQ数据显示,79%的消费者在夏季会选择购买冰冻饮料,而81%的消费者会因为目标饮品非冰冻而选择其他公司的冰冻产品。在终端店投放冰柜可以显著提升售点销量,增加产品的曝光率和购买决策率。
要知道,长期以来娃哈哈在冰柜投放策略上一直秉持着审慎原则,这与前任掌门人宗庆后的策略一脉相承。但自宗馥莉接任董事长以来,她展现了截然不同的魄力,果断地在冰柜领域加大投入,这无疑是娃哈哈在业务战略上的新动向。
不管是业内还是外界,普遍将关注点聚焦于宗馥莉接手娃哈哈如何规划并推动其未来发展,尤其是在面对快速变化的市场环境和消费者需求时,如何有效平衡传统与创新的平衡,以实现持续增长与竞争力提升。
毕竟,相较于同行业其他饮料企业,娃哈哈在较大程度上依赖于其传统产品线这点不容忽视。宗馥莉也曾对媒体表示,“我更想要去做一些创新,包括产品创新、渠道创新、营销创新等。作为产品提供者,我更想为消费者带来更好的东西,否则做这一切就没有意义了。”
此前,无糖饮料爆火,此前,宗馥莉迅速引领娃哈哈旗下的“一茶”无糖茶品牌强势入局。不仅加大了市场推广的力度,还特别注重在一线城市及二线城市的布局与渗透,显著提升了市场覆盖率。“马上赢”调研数据显示,娃哈哈在无糖茶市场的份额排名,从2023年4-5月份的前13名之外,已经攀升到了2024年4-5月份的第9名。不过相比于价格相近的同品类竞品,从线上平台来看,销量就表现一般了。
中国饮料行业高速增长的时代已经过去,行业市场竞争日渐加剧,娃哈哈未来所面临的市场压力并不小。在此背景下,宗馥莉完成了与父亲时代的平稳过渡,正式开启了属于她个人的饮料事业新篇章。对于全面接手娃哈哈的宗馥莉而言,她不仅要敏锐捕捉并有效利用市场中的每一个流量机遇,更需深谋远虑,探索并打造出属于娃哈哈的独特“顶流”产品。
0
第一时间获取股权投资行业新鲜资讯和深度商业分析,请在微信公众账号中搜索投中网,或用手机扫描左侧二维码,即可获得投中网每日精华内容推送。
发表评论
全部评论