主打真爱营销的I Do钻戒,今年再次迎来艰难时刻。
今年上半年,I Do钻戒母公司恒信玺利营收净利双双大幅下降。而在新三板挂牌的恒信玺利,曾多次冲刺A股IPO,但均以失败告终。
经营困难之下,新浪科技发现,I Do钻戒母公司正在大规模注销各地分公司,不少员工声称遭遇了长达数月的欠薪,一些供应商的货款也迟迟未付,向法院申请强制执行。
这家由“钻石王老五”、知名主持人李湘前夫李厚霖创办的企业,究竟怎么了?
主打真爱营销,被DR碾压?
2006年,I Do品牌在北京开设了首家珠宝精品店,截至目前已在全国开设超过700家门店,遍布230余座城市,拥有100多万会员。2021年12月,IDo正式宣布陈小春、应采儿夫妇为品牌全球代言人。
对于I Do的品牌内涵,官网上介绍称,“I Do”源自婚礼的誓言,代表着步入婚姻殿堂的爱侣对于爱情忠贞不渝的承诺,是最神圣的爱情宣言。一句“I Do”,婚戒滑入无名指,自此以爱为名,相守一生。
这个品牌理念与另一家珠宝品牌DR十分相似。
DR一直主打“一生只送一人”的理念,依靠“男士一生仅能定制一枚”的销售规则,吸引了大量女性用户的关注。I Do的名称与理念与此相似。
不过,与DR相比,I Do在收入规模、利润等指标上差距较大。
I Do母公司恒信玺利发布的2021年财报显示,报告期内营业收入同比上涨28.73%至22.61亿元,归属于挂牌公司股东的净利润同比上涨6.13%至1.13亿元。
而DR母公司迪阿股份此前发布的2021年年报,报告期内公司实现营业收入46.23亿元,较上年同期增长87.57%;归母净利润13.02亿元,较上年同期增长131.09%。
对比来看,DR母公司迪阿股份的营收是I Do母公司恒信玺利的2倍有余,净利润更是超过10倍。
而截至2021年,DR公司门店数量为461家,I Do则拥有终端门店数715家,也即是DR在门店数量不及I Do的情况下,实现了营收和净利润的碾压。
另外,与I Do的真爱营销形成鲜明对比的是,I Do创始人、董事长李厚霖的早年感情生活却颇具争议,与娱乐圈的多位女星牵扯甚多。
从2000年左右初识女歌手、演员周艳泓,到2003年与周艳泓分手追求演员秦海璐,再到2004年和主持人、演员李湘宣布结婚2006年再离婚。短短六年的时间,李厚霖先后经历了三段瞩目的感情,更是被前女友秦海璐公开指责。
陈小春“救不活”业绩,营收净利双降
在珠宝界,邀请明星代言吸引用户购买是惯用的手段。
不过在2021年底宣布陈小春、应采儿夫妇为代言人后,I Do的业绩却并没有因此而变好。今年上半年,恒信玺利实现营业收入6.28亿元,同比下降41.99%;净利润704.44万元,同比下降88.62%。
不只是营收和利润双双下滑,I Do同时关闭了大量门店。其2021年财报显示,至报告期末公司开设总计715家线下门店,而到今年6月时却只剩下630家,关闭了85家线下门店。
恒信玺利在财报中表示,2022年上半年,国际形势复杂严峻,全球经济继续低迷,国内疫情呈现点多、面广、频发的特点,对经济运行的冲击影响加大。受疫情影响,公司经营压力有所增加。
恒信玺利给出的对策是,推行“克拉战略”,也即是通过以大克拉钻石和彩宝定制为核心的“克拉定制”服务,切入高级珠宝市场。其半年报显示,克拉等级以上的高级珠宝销售占比,已超过I Do品牌整体营收的20%。
不过即使如此,还是没能阻挡I Do业绩的崩塌。
多次冲刺IPO未果,大资本退出
2015年,I Do母公司恒信玺利成功挂牌新三板,不过李厚霖的野心不只如此,他一直有个IPO梦。
在登陆新三板的次年1月,恒信玺利就向北京证监局报送了上市辅导备案材料,开始IPO征程。但数月后公司又主动叫停了IPO进程。恒信玺利对外公告的原因是,根据经营发展需要,公司注册地将由北京变更至西藏拉萨曲水县。
西藏拉萨曲水县是证监会所划定的贫困县之一,当时证监会推出了IPO扶贫新政,李厚霖想借此让恒信玺利走贫困县的IPO绿色通道。
但2017年、2018年和2019年,恒信玺利连续三次递交IPO申请,均无疾而终。
接连IPO失利之下,投资机构也扛不住退出压力。2018年,恒信玺利的第三大股东红杉资本清仓退出,最终另一家珠宝品牌周大生接盘了这16.6%的股份。
今年11月,有投资者在投资者关系平台向周大生董秘提问:“投资的恒信玺利公允价值持续下降,请问公司对其打算如何处理?”周大生方面仅称“目前恒信玺利是财务投资”。尴尬的是,周大生投资恒信玺利数年后,双方却鲜有业务合作和协同。
陷入欠薪风波,超三成员工被裁
业绩下滑,IPO无果,I Do已经陷入了经营困难之中。
多位I Do员工反馈,遭遇了长期欠薪、变相裁员不赔偿等。一位员工表示,从去年底开始,I Do便大规模欠薪,普通员工普遍欠薪数月,总监级别甚至超过一年。今年4月和10月,I Do还进行了两次大裁员,其中4月裁员中签订协议赔偿金9月30日支付,但至今大部分人仍未收到,甚至欠薪也未结清。

新浪科技从恒信玺利半年报中发现,今年上半年,恒信玺利员工数由1684人减少至1104人,半年减少了580人,超过三分之一。
另一位华南大区员工则是在今年10月无故被裁,他称目前工资欠款及赔偿均未结清,员工的报销拖了几个月也没有音讯。他透露,不只是员工,I Do还拖欠供应商货款。
“公司无脑营销烧钱无度”,他说,即使在入不敷出进货都没钱的情况下,I Do依然在巨额烧钱搞营销,却并没有带来相应的收益。
去年底以来,虽然经营困难,I Do确实一直在持续投入营销,比如2021年12月签约新代言人,2022年5月与健身教练刘畊宏夫妇的直播间合作,以及2022年5月与王者荣耀的IP合作等等。
“企业文化:相信爱、感受爱、传递爱,现在员工们感受不到爱,也不相信爱,也传递不下去,有钱给明星却没钱发薪水?”他吐槽道。

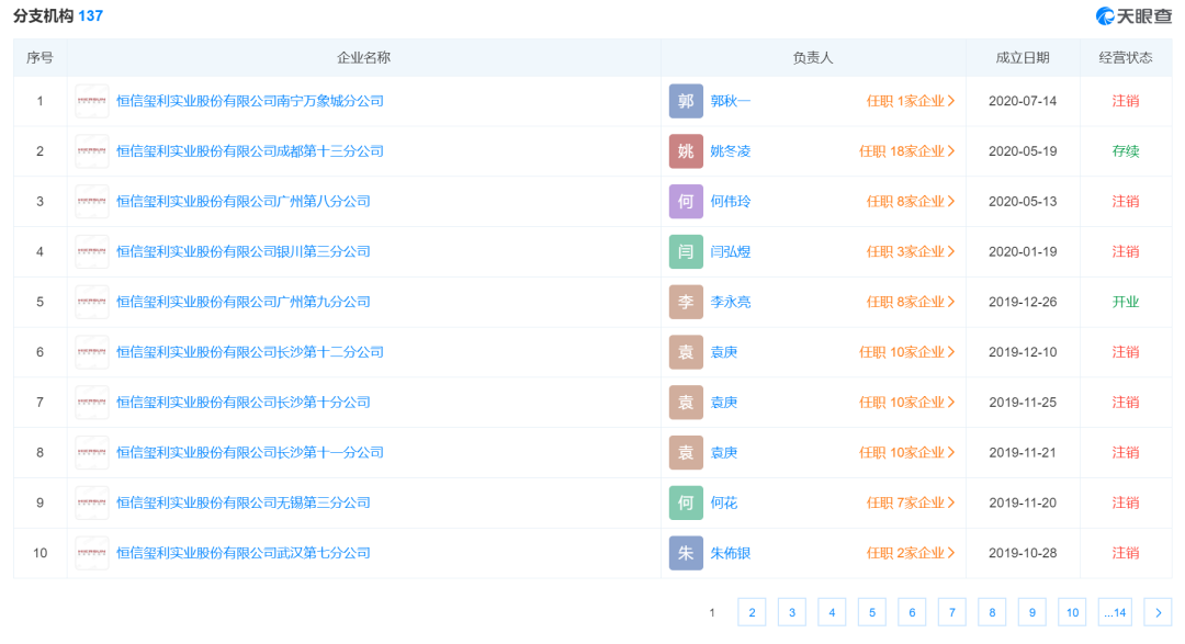
新浪科技发现,I Do母公司恒信玺利目前大量分支机构已经注销。天眼查显示,在其137家分支机构中,只有14家还处于存续和开业状态,其余全部被注销。
这也给员工维权制造了困难。一位在I Do工作3年的员工表示,在公司不开工资的情况下干了4个月,结果被告知公司大区解散。“原来还相信公司,结果发现我手里的劳动合同无效,公司把分公司注销了,让我投诉无门。”
供应商们也在维权。
近日,天眼查显示,恒信玺利新增被执行人信息,执行标的超243万元,执行法院为北京市平谷区人民法院。该案件为服务合同纠纷,原告为河北博岳通信技术股份有限公司;11月,恒信玺利再新增了多条被法院强制执行的信息,涉及金额在几十万元到上百万元不等。
内忧外患的I Do,该如何自救?
I Do钻戒营销「失灵」:3次IPO未果、营收净利腰斩、大批员工遭遇欠薪
业绩下滑,IPO无果,I Do已经陷入了经营困难之中。
主打真爱营销的I Do钻戒,今年再次迎来艰难时刻。
今年上半年,I Do钻戒母公司恒信玺利营收净利双双大幅下降。而在新三板挂牌的恒信玺利,曾多次冲刺A股IPO,但均以失败告终。
经营困难之下,新浪科技发现,I Do钻戒母公司正在大规模注销各地分公司,不少员工声称遭遇了长达数月的欠薪,一些供应商的货款也迟迟未付,向法院申请强制执行。
这家由“钻石王老五”、知名主持人李湘前夫李厚霖创办的企业,究竟怎么了?
主打真爱营销,被DR碾压?
2006年,I Do品牌在北京开设了首家珠宝精品店,截至目前已在全国开设超过700家门店,遍布230余座城市,拥有100多万会员。2021年12月,IDo正式宣布陈小春、应采儿夫妇为品牌全球代言人。
对于I Do的品牌内涵,官网上介绍称,“I Do”源自婚礼的誓言,代表着步入婚姻殿堂的爱侣对于爱情忠贞不渝的承诺,是最神圣的爱情宣言。一句“I Do”,婚戒滑入无名指,自此以爱为名,相守一生。
这个品牌理念与另一家珠宝品牌DR十分相似。
DR一直主打“一生只送一人”的理念,依靠“男士一生仅能定制一枚”的销售规则,吸引了大量女性用户的关注。I Do的名称与理念与此相似。
不过,与DR相比,I Do在收入规模、利润等指标上差距较大。
I Do母公司恒信玺利发布的2021年财报显示,报告期内营业收入同比上涨28.73%至22.61亿元,归属于挂牌公司股东的净利润同比上涨6.13%至1.13亿元。
而DR母公司迪阿股份此前发布的2021年年报,报告期内公司实现营业收入46.23亿元,较上年同期增长87.57%;归母净利润13.02亿元,较上年同期增长131.09%。
对比来看,DR母公司迪阿股份的营收是I Do母公司恒信玺利的2倍有余,净利润更是超过10倍。
而截至2021年,DR公司门店数量为461家,I Do则拥有终端门店数715家,也即是DR在门店数量不及I Do的情况下,实现了营收和净利润的碾压。
另外,与I Do的真爱营销形成鲜明对比的是,I Do创始人、董事长李厚霖的早年感情生活却颇具争议,与娱乐圈的多位女星牵扯甚多。
从2000年左右初识女歌手、演员周艳泓,到2003年与周艳泓分手追求演员秦海璐,再到2004年和主持人、演员李湘宣布结婚2006年再离婚。短短六年的时间,李厚霖先后经历了三段瞩目的感情,更是被前女友秦海璐公开指责。
陈小春“救不活”业绩,营收净利双降
在珠宝界,邀请明星代言吸引用户购买是惯用的手段。
不过在2021年底宣布陈小春、应采儿夫妇为代言人后,I Do的业绩却并没有因此而变好。今年上半年,恒信玺利实现营业收入6.28亿元,同比下降41.99%;净利润704.44万元,同比下降88.62%。
不只是营收和利润双双下滑,I Do同时关闭了大量门店。其2021年财报显示,至报告期末公司开设总计715家线下门店,而到今年6月时却只剩下630家,关闭了85家线下门店。
恒信玺利在财报中表示,2022年上半年,国际形势复杂严峻,全球经济继续低迷,国内疫情呈现点多、面广、频发的特点,对经济运行的冲击影响加大。受疫情影响,公司经营压力有所增加。
恒信玺利给出的对策是,推行“克拉战略”,也即是通过以大克拉钻石和彩宝定制为核心的“克拉定制”服务,切入高级珠宝市场。其半年报显示,克拉等级以上的高级珠宝销售占比,已超过I Do品牌整体营收的20%。
不过即使如此,还是没能阻挡I Do业绩的崩塌。
多次冲刺IPO未果,大资本退出
2015年,I Do母公司恒信玺利成功挂牌新三板,不过李厚霖的野心不只如此,他一直有个IPO梦。
在登陆新三板的次年1月,恒信玺利就向北京证监局报送了上市辅导备案材料,开始IPO征程。但数月后公司又主动叫停了IPO进程。恒信玺利对外公告的原因是,根据经营发展需要,公司注册地将由北京变更至西藏拉萨曲水县。
西藏拉萨曲水县是证监会所划定的贫困县之一,当时证监会推出了IPO扶贫新政,李厚霖想借此让恒信玺利走贫困县的IPO绿色通道。
但2017年、2018年和2019年,恒信玺利连续三次递交IPO申请,均无疾而终。
接连IPO失利之下,投资机构也扛不住退出压力。2018年,恒信玺利的第三大股东红杉资本清仓退出,最终另一家珠宝品牌周大生接盘了这16.6%的股份。
今年11月,有投资者在投资者关系平台向周大生董秘提问:“投资的恒信玺利公允价值持续下降,请问公司对其打算如何处理?”周大生方面仅称“目前恒信玺利是财务投资”。尴尬的是,周大生投资恒信玺利数年后,双方却鲜有业务合作和协同。
陷入欠薪风波,超三成员工被裁
业绩下滑,IPO无果,I Do已经陷入了经营困难之中。
多位I Do员工反馈,遭遇了长期欠薪、变相裁员不赔偿等。一位员工表示,从去年底开始,I Do便大规模欠薪,普通员工普遍欠薪数月,总监级别甚至超过一年。今年4月和10月,I Do还进行了两次大裁员,其中4月裁员中签订协议赔偿金9月30日支付,但至今大部分人仍未收到,甚至欠薪也未结清。
新浪科技从恒信玺利半年报中发现,今年上半年,恒信玺利员工数由1684人减少至1104人,半年减少了580人,超过三分之一。
另一位华南大区员工则是在今年10月无故被裁,他称目前工资欠款及赔偿均未结清,员工的报销拖了几个月也没有音讯。他透露,不只是员工,I Do还拖欠供应商货款。
“公司无脑营销烧钱无度”,他说,即使在入不敷出进货都没钱的情况下,I Do依然在巨额烧钱搞营销,却并没有带来相应的收益。
去年底以来,虽然经营困难,I Do确实一直在持续投入营销,比如2021年12月签约新代言人,2022年5月与健身教练刘畊宏夫妇的直播间合作,以及2022年5月与王者荣耀的IP合作等等。
“企业文化:相信爱、感受爱、传递爱,现在员工们感受不到爱,也不相信爱,也传递不下去,有钱给明星却没钱发薪水?”他吐槽道。
新浪科技发现,I Do母公司恒信玺利目前大量分支机构已经注销。天眼查显示,在其137家分支机构中,只有14家还处于存续和开业状态,其余全部被注销。
这也给员工维权制造了困难。一位在I Do工作3年的员工表示,在公司不开工资的情况下干了4个月,结果被告知公司大区解散。“原来还相信公司,结果发现我手里的劳动合同无效,公司把分公司注销了,让我投诉无门。”
供应商们也在维权。
近日,天眼查显示,恒信玺利新增被执行人信息,执行标的超243万元,执行法院为北京市平谷区人民法院。该案件为服务合同纠纷,原告为河北博岳通信技术股份有限公司;11月,恒信玺利再新增了多条被法院强制执行的信息,涉及金额在几十万元到上百万元不等。
内忧外患的I Do,该如何自救?
0
第一时间获取股权投资行业新鲜资讯和深度商业分析,请在微信公众账号中搜索投中网,或用手机扫描左侧二维码,即可获得投中网每日精华内容推送。
发表评论
全部评论