陷入财务危机一年,这家CPU明星企业没有等来“及时雨”。
8月6日,广州中级人民法院对曾经的国产服务器CPU明星企业合芯科技破产审查进行听证。因为在此一个多月前,合芯科技一位债权人以不能清偿到期债务,并且资产不足以清偿全部债务或者明显缺乏清偿能力为由,申请将合芯科技移送破产审查。

来源:法院文书截图
合芯科技成立于2014年,号称是国内唯一一家始终坚持基于开源RISC指令集架构高端服务器中央处理器研发的企业。在早期国内去“IOE”( 指在服务器、数据库和存储设备领域不再依赖IBM、Oracle、EMC这三家公司)机遇中,合芯科技获得市场青睐,2023年公司估值一度达到60亿,初具“准独角兽”姿态。
但在2024年中,合芯科技被曝出员工讨薪、核心高管失联,公司深陷财务危机,业务运营停摆的消息。如今,在天眼查上,合芯科技已经被列为被执行人,公司董事长姚克俭从今年2月开始就被限消。
从起高楼,到楼塌了,近年来国产大芯片赛道中,不时传来明星创企陷入危机的消息。近年来,国产大芯片赛道如火如荼,有人突围成功,也有昔日明星企业彻底停摆。有像砺算科技、象帝先这样起死回生的,而合芯科技,却还没能等来“贵人”,深陷泥潭无法脱身。
明星企业崩塌的背后,市场和商业化难以闭环是主要原因。对于合芯科技来说,其如今的处境,主要在于走错了路,因为她选了一条越走越窄的路。
崩塌前,公司估值60亿
合芯科技的发展历程可追溯至2013年在苏州成立的中晟宏芯。彼时,中国的IT行业中去“IOE”情绪高涨,打破IBM、Oracle、EMC三家美国厂商的市场垄断,芯片国产化替代浪潮来到新的高度。
2016年,合芯科技拿到IBM服务器处理器芯片Power 8芯片架构和指令系统的永久授权,并可以基于该芯片进行自主创新。这意味着合芯科技可以删除Power 8的安全模块,代之以国产的安全模块系统,以符合中国政府在安全方面的监管要求。这也让合芯科技成为国产服务器CPU赛道中的明星创企。
合芯科技早期核心员工来自于中国科学院计算所和IBM,公司所依靠的IBM Power指令集授权,也让CPU产业中的投资机构看到了希望。
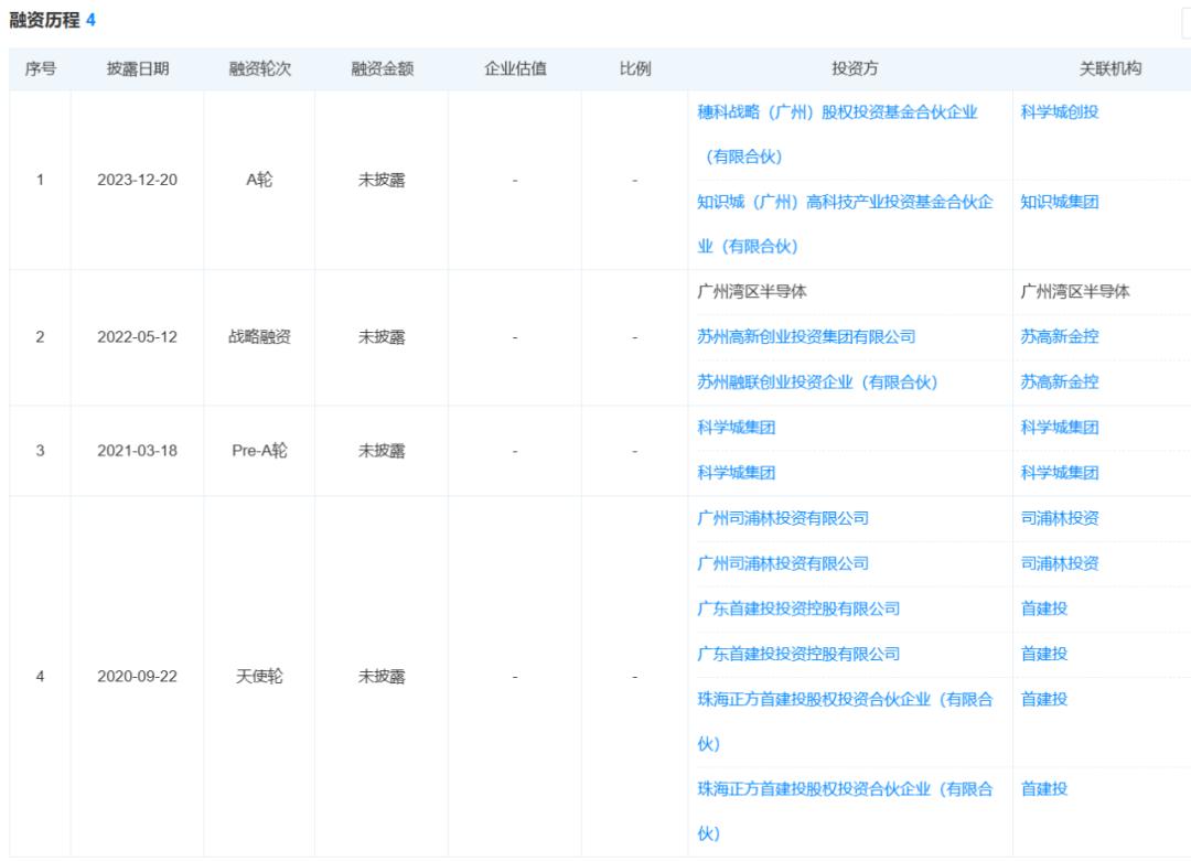
天眼查信息显示,在资本市场上,合芯科技在2020年至2023年底累计完成四轮融资,吸引了广州和苏州两地的国有资本入股。

来源:天眼查
根据广州科学城创业投资管理有限公司官网资料显示,该集团“2020年以投后估值约为20.6亿元价格投资了合芯科技约5亿元,目前持有其约21%股权,历经约三年的成长,目前(2023年)合芯科技最新估值为60亿元,估值增长约2.8倍。目前合芯科技已完成新一轮融资, 并计划于2023年第三季度完成股改,2024年上半年申报申报科创板IPO。”
资本市场能够给出60亿估值,全在于合芯科技在2023年11月点亮了第二代服务器芯片HX-C2000的原型验证芯片。按照计划,合芯科技这颗芯片将被送去台积电流片,然后量产。
但,危险比希望早到了一步。
进入2024年,合芯科技财务危机逐渐开始暴露。
据南方都市报、观察者网等当时报道,2024年底,社交媒体上爆出合芯科技拖欠员工薪资半年之久、超过500名员工集体通过劳动仲裁维权。有员工透露,公司已拖欠薪资长达半年,五险一金中断,且有员工被要求签署放弃缴纳证明,安排居家待业。
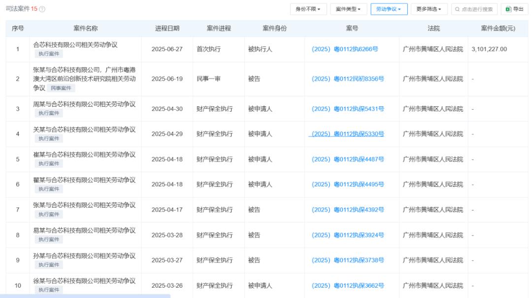
如今天眼查信息上,自今年2月起,合芯科技有15起劳动争议案件,多数案程进入财产保全执行阶段。

来源:天眼查
公司举动引发合芯科技数百位员工不满。据网传消息,合芯科技苏州办公室甚至有员工拉横幅讨薪。
与此同时,公司财务危机,也导致HX-C2000后续没有资金进行流片,公司业务暂停。合芯科技官方微信公众号也在2024年9月之后断更。
而天眼查信息显示,近期,合芯科技也已经被广州市黄埔区市场监督管理局列入经营异常,原因为“通过登记的住所或者经营场所无法联系”。据天眼查信息,合芯科技被执行总金额为2131万元,法人姚克俭三次被限消,涉案金额332万元。

来源:天眼查
值得注意的是,南方都市报据前员工平回忆,2023年12月第一次延发工资时,合芯科技CTO刘洋在员工大会上一度哽咽,声称预期有两笔融资,但没能进账,公司还在抢救,尽力寻找新的融资。
2025年7月底,合芯科技的一位员工,向广州市中级人民法院申请对合芯科技进行破产审查。如今,这家国产CPU明星企业将何去何从?
选错方向,挤进狭窄赛道
十年来,合芯科技一直高喊“自研高端服务器处理器”,如今的处境,与其最初的选择密切相关。
2014年,合芯科技加入IBM发起的OpenPOWER基金会,并在2015年6月发布了第一款IBM授权POWER架构的服务器芯片产品CP1。在拿到IBM 的Power 8架构和指令集永久授权后,合芯科技也开始基于IBM授权的Power指令集架构,开启服务器CPU国产化替代业务。
彼时,IBM的Power指令集架构因其高性能计算能力,成为政策支持的重点,合芯科技也曾被视为全国产化的POWER系列CPU研发的种子选手。
据悉,合芯科技的首款芯片HX-C1000曾以“单核性能国产最强”的标签迅速成为行业标杆。
合芯科技一直依赖IBM的Power架构,拿到了技术的先发优势,却失去了商业化的闭环。
据了解,Power是1991年Apple、IBM、Motorola组成的AIM联盟所发展出的微处理器架构。苹果公司曾推出多款基于Power架构的笔记本电脑,但因为处理器能效比落后而乔布斯弃用。
或许,PowerPC过去曾经是市场上的主流服务器CPU产品,但随着技术的发展,Power的封闭生态和高昂适配成本,让其早已跟不上市场需求,Power已经很难形成竞争力了。
据悉,合芯科技关注低功耗、高性能,旨在满足高端服务器市场的需求。在全球服务器CPU市场,主流架构x86占据主导地位,合芯科技选择的PowerPC架构尽管在某些应用场景中具有优势,但市场接受度较低,未能形成足够的竞争力。
创业十余年,合芯科技一共拿出两款CPU芯片,第一款已经过去许久,最新款因无资金流片而宣告结束。即便是在国产替代高涨的呼声中,失去商业化能力的芯片同样会被时代和市场抛弃。
值得注意的是,2023年,合芯科技也曾宣布转向开源RISC-V架构,但内部会议仅停留在理论探讨,缺乏实质性研发投入。直到现在,合芯科技仍旧没有新的融资进入,即便有过IPO计划,但现在已经来不及了。
据公开信息,该公司2023年财报显示净亏损超2亿元,2024年多笔 商业票据 出现逾期。在新融资无法到位的情况下,合芯科技还是只能被迫等待机会。
在国产芯片发展中,合芯科技只是其中失败案例中的一个,CPU领域中除了合芯科技,启灵芯,鸿钧微等都先后陷入危机,但有失败,才会有中国大芯片发展的经验。
估值60亿,国产CPU公司被申请破产审查
选错方向,挤进了狭窄赛道。
陷入财务危机一年,这家CPU明星企业没有等来“及时雨”。
8月6日,广州中级人民法院对曾经的国产服务器CPU明星企业合芯科技破产审查进行听证。因为在此一个多月前,合芯科技一位债权人以不能清偿到期债务,并且资产不足以清偿全部债务或者明显缺乏清偿能力为由,申请将合芯科技移送破产审查。
来源:法院文书截图
合芯科技成立于2014年,号称是国内唯一一家始终坚持基于开源RISC指令集架构高端服务器中央处理器研发的企业。在早期国内去“IOE”( 指在服务器、数据库和存储设备领域不再依赖IBM、Oracle、EMC这三家公司)机遇中,合芯科技获得市场青睐,2023年公司估值一度达到60亿,初具“准独角兽”姿态。
但在2024年中,合芯科技被曝出员工讨薪、核心高管失联,公司深陷财务危机,业务运营停摆的消息。如今,在天眼查上,合芯科技已经被列为被执行人,公司董事长姚克俭从今年2月开始就被限消。
从起高楼,到楼塌了,近年来国产大芯片赛道中,不时传来明星创企陷入危机的消息。近年来,国产大芯片赛道如火如荼,有人突围成功,也有昔日明星企业彻底停摆。有像砺算科技、象帝先这样起死回生的,而合芯科技,却还没能等来“贵人”,深陷泥潭无法脱身。
明星企业崩塌的背后,市场和商业化难以闭环是主要原因。对于合芯科技来说,其如今的处境,主要在于走错了路,因为她选了一条越走越窄的路。
崩塌前,公司估值60亿
合芯科技的发展历程可追溯至2013年在苏州成立的中晟宏芯。彼时,中国的IT行业中去“IOE”情绪高涨,打破IBM、Oracle、EMC三家美国厂商的市场垄断,芯片国产化替代浪潮来到新的高度。
2016年,合芯科技拿到IBM服务器处理器芯片Power 8芯片架构和指令系统的永久授权,并可以基于该芯片进行自主创新。这意味着合芯科技可以删除Power 8的安全模块,代之以国产的安全模块系统,以符合中国政府在安全方面的监管要求。这也让合芯科技成为国产服务器CPU赛道中的明星创企。
合芯科技早期核心员工来自于中国科学院计算所和IBM,公司所依靠的IBM Power指令集授权,也让CPU产业中的投资机构看到了希望。
天眼查信息显示,在资本市场上,合芯科技在2020年至2023年底累计完成四轮融资,吸引了广州和苏州两地的国有资本入股。
来源:天眼查
根据广州科学城创业投资管理有限公司官网资料显示,该集团“2020年以投后估值约为20.6亿元价格投资了合芯科技约5亿元,目前持有其约21%股权,历经约三年的成长,目前(2023年)合芯科技最新估值为60亿元,估值增长约2.8倍。目前合芯科技已完成新一轮融资, 并计划于2023年第三季度完成股改,2024年上半年申报申报科创板IPO。”
资本市场能够给出60亿估值,全在于合芯科技在2023年11月点亮了第二代服务器芯片HX-C2000的原型验证芯片。按照计划,合芯科技这颗芯片将被送去台积电流片,然后量产。
但,危险比希望早到了一步。
进入2024年,合芯科技财务危机逐渐开始暴露。
据南方都市报、观察者网等当时报道,2024年底,社交媒体上爆出合芯科技拖欠员工薪资半年之久、超过500名员工集体通过劳动仲裁维权。有员工透露,公司已拖欠薪资长达半年,五险一金中断,且有员工被要求签署放弃缴纳证明,安排居家待业。
如今天眼查信息上,自今年2月起,合芯科技有15起劳动争议案件,多数案程进入财产保全执行阶段。
来源:天眼查
公司举动引发合芯科技数百位员工不满。据网传消息,合芯科技苏州办公室甚至有员工拉横幅讨薪。
与此同时,公司财务危机,也导致HX-C2000后续没有资金进行流片,公司业务暂停。合芯科技官方微信公众号也在2024年9月之后断更。
而天眼查信息显示,近期,合芯科技也已经被广州市黄埔区市场监督管理局列入经营异常,原因为“通过登记的住所或者经营场所无法联系”。据天眼查信息,合芯科技被执行总金额为2131万元,法人姚克俭三次被限消,涉案金额332万元。
来源:天眼查
值得注意的是,南方都市报据前员工平回忆,2023年12月第一次延发工资时,合芯科技CTO刘洋在员工大会上一度哽咽,声称预期有两笔融资,但没能进账,公司还在抢救,尽力寻找新的融资。
2025年7月底,合芯科技的一位员工,向广州市中级人民法院申请对合芯科技进行破产审查。如今,这家国产CPU明星企业将何去何从?
选错方向,挤进狭窄赛道
十年来,合芯科技一直高喊“自研高端服务器处理器”,如今的处境,与其最初的选择密切相关。
2014年,合芯科技加入IBM发起的OpenPOWER基金会,并在2015年6月发布了第一款IBM授权POWER架构的服务器芯片产品CP1。在拿到IBM 的Power 8架构和指令集永久授权后,合芯科技也开始基于IBM授权的Power指令集架构,开启服务器CPU国产化替代业务。
彼时,IBM的Power指令集架构因其高性能计算能力,成为政策支持的重点,合芯科技也曾被视为全国产化的POWER系列CPU研发的种子选手。
据悉,合芯科技的首款芯片HX-C1000曾以“单核性能国产最强”的标签迅速成为行业标杆。
合芯科技一直依赖IBM的Power架构,拿到了技术的先发优势,却失去了商业化的闭环。
据了解,Power是1991年Apple、IBM、Motorola组成的AIM联盟所发展出的微处理器架构。苹果公司曾推出多款基于Power架构的笔记本电脑,但因为处理器能效比落后而乔布斯弃用。
或许,PowerPC过去曾经是市场上的主流服务器CPU产品,但随着技术的发展,Power的封闭生态和高昂适配成本,让其早已跟不上市场需求,Power已经很难形成竞争力了。
据悉,合芯科技关注低功耗、高性能,旨在满足高端服务器市场的需求。在全球服务器CPU市场,主流架构x86占据主导地位,合芯科技选择的PowerPC架构尽管在某些应用场景中具有优势,但市场接受度较低,未能形成足够的竞争力。
创业十余年,合芯科技一共拿出两款CPU芯片,第一款已经过去许久,最新款因无资金流片而宣告结束。即便是在国产替代高涨的呼声中,失去商业化能力的芯片同样会被时代和市场抛弃。
值得注意的是,2023年,合芯科技也曾宣布转向开源RISC-V架构,但内部会议仅停留在理论探讨,缺乏实质性研发投入。直到现在,合芯科技仍旧没有新的融资进入,即便有过IPO计划,但现在已经来不及了。
据公开信息,该公司2023年财报显示净亏损超2亿元,2024年多笔 商业票据 出现逾期。在新融资无法到位的情况下,合芯科技还是只能被迫等待机会。
在国产芯片发展中,合芯科技只是其中失败案例中的一个,CPU领域中除了合芯科技,启灵芯,鸿钧微等都先后陷入危机,但有失败,才会有中国大芯片发展的经验。
0
第一时间获取股权投资行业新鲜资讯和深度商业分析,请在微信公众账号中搜索投中网,或用手机扫描左侧二维码,即可获得投中网每日精华内容推送。
发表评论
全部评论