近日,上汽集团发布公告称:拟通过嘉兴创颀与嘉兴颀骏一号两只基金,向清陶能源追加投资不超过27亿元;其中,嘉兴创颀出资不超过19.7亿元,嘉兴颀骏一号出资不超过7.3亿元。
据公开资料显示,早在2020年6月、2022年1月,上汽集团就先后两次参与了清陶能源的融资。此次投资完成后,上汽集团将共持有清陶能源约15.29%的股权。
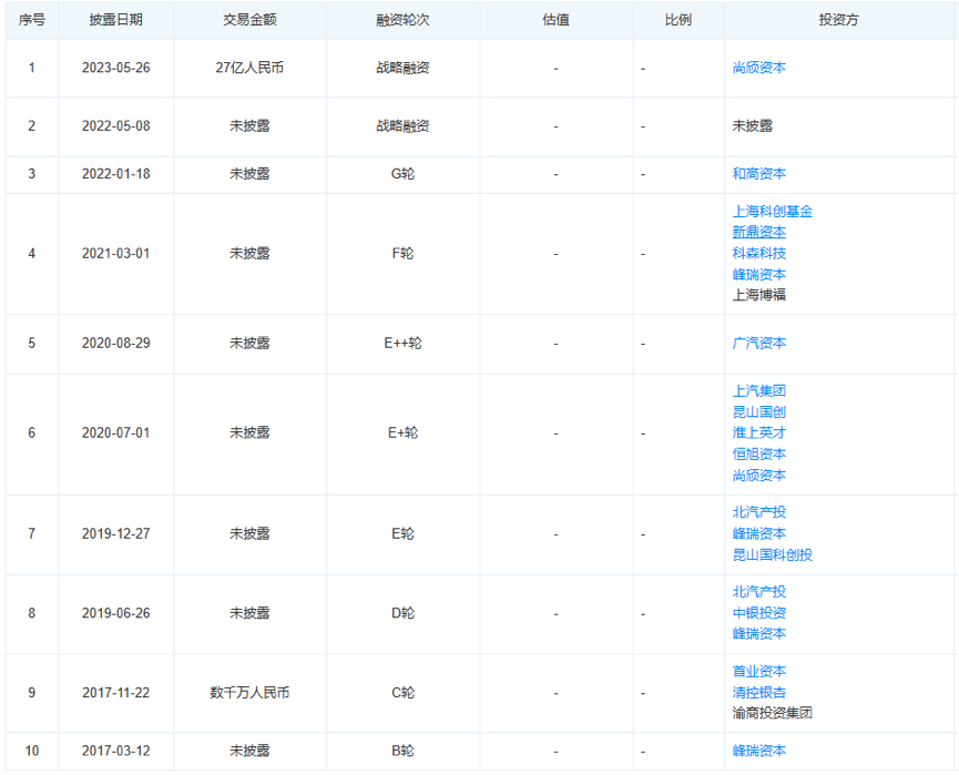
如果再梳理融资历史就会发现,自2016年成立后,清陶能源已经完成了11轮融资。除了上汽集团之外,广汽集团、北汽集团都先后注资。财务投资机构也堪称豪华:峰瑞资本、清控银杏、首业资本、和高资本、上海科创基金等一批知名机构都位列其中。
清陶能源到底什么来头,受到资本如此追捧?
清华院士带队创业,7年融了11轮
先罗列一些关键信息:清华院士团队、投前估值206亿、固态锂电池赛道,公司400wh/kg的第二代产品即将列装上汽整车产品。
2016年,中科院院士、清华大学教授南策文与其学生冯玉川、李峥等人,组成创业团队成立了清陶能源,主攻固态锂电池的研发与生产。
当时,固态锂电池仍是实验室中的技术。不过因其远超液态锂电池的能量密度和安全性,受到学界和产业界的高度关注。
南策文就是长期为固态电池鼓与呼的学者。在接受《能源评论》的采访时,他分析道“全固态锂电池……取代传统电池里的隔膜和电解液,从而解决安全问题。同时,采用全固态电解质后,可以使用金属锂作为负极,从而提升能量密度……从解决安全问题、用现有的材料来提高能量密度角度来看,全固态锂电池可预期满足产业发展的需求,值得大力发展。”
而再往前,南策文团队是国内最早研究固态电池的科研团队之一。1997年,国家科教领导小组推动实施“基础研究重大项目计划”,简称“973”。这是我国加强基础科学研究的重要举措。
在“973”的众多科研项目中,功能陶瓷的研究方向就落在了清华大学材料系教授南策文身上。自2002年后,南策文带领团队在该领域不断攻坚。固态锂电池正是其中的课题之一。2006年,南策文团队研发的LLTO(锂镧钛氧)固态电解质材料表现出优秀性能;2010年开发的石榴石结构LLZO(锂镧锆氧)固态电解质材料工艺成熟。这些早期的技术积累,为此后清陶能源的发展奠定了坚实基础。
所以当2016年选择创业时,清陶能源立刻收到苏州昆山当地政府的大力支持,并在一年之内完成了峰瑞资本A、B两轮投资。
昆山政府和早期投资者没有押错。
在成立两年后,清陶能源的固态电解质产业化基地就开始投产。其产品开始供应数码产品和特种储能领域。随后清陶能源几乎按照一年一轮(甚至一年两年轮)的速度快速融资扩张。(如下图)。

图片来源:天眼查
不到7年的时间,清陶能源已经成长为估值超过200亿的超级独角兽,更是固态电池赛道的头号玩家。
目前,清陶能源的管理团队均出身清华。董事长冯玉川,2003年考入清华大学材料科学与工程系就读本科,2007年继续攻读硕士学位,在科研期间,与日本丰田等公司开展固态电解质材料开发的深度合作,拥有锂电池行业丰富的管理经验。
清陶能源总经理、CTO李峥,则是冯玉川同门同学,在清华大学材料科学与工程系先后取得本科、博士学位、并且毕业后在江苏省能源复合材料工程技术研究中心主任。
据天眼查显示,清陶能源的股权结构中,冯玉川持股14.65%,李峥持股14.21%,南策文持股8.88%(本轮融资前)。
除此之外,清陶能源的多位技术骨干和管理人员均来自清华材料科学与工程。这样一支兼具科研实力和产业管理经验的强大团队,正是清陶能源迅猛发展的第一动力。
联手产业巨头,第二代产品即将下线
那么清陶能源的业务进展到底如何?
先来看看主营业务。到目前,清陶能源已经发展出三大业务版块:
其一是新材料版块,包括固态电解质材料、复合隔膜材料和凹土新材料;其二是固态锂电池版块,包括电芯、动力电池、数码电池和特种储能等产品;其三是自动化装备版块,包括自动化设备包括隔膜涂布机、高金福锂电池隔膜分条机等锂电池自动化设备。此外,还包括锂电池回收等业务。
用清陶能源自己的话说,形成了“新能源材料—固态锂电池—自动化装备—锂电池资源综合利用—科研转化—产业投资”的完整产业链布局。
而在技术路径的选择上,李峥在今年5月召开的“国际先进电池前沿技术研讨会”上披露道,“(清陶与清华大学的研发团队)提出了以有机-无机复合固态电解质为研发技术路线,在保持无机固态电解质的性能优势的基础上,通过复合材料设计改善工艺性能,从而为固态电池产品化提供了可能性。”
南策文此前接受采访时,对复合路线选择给出了解释,“(无机-聚合物的复合体系)可以使离子电导率保持较高水平,而且可以做到柔性,保证高分子的加工性、柔性,特别是它可较大程度上利用现有锂离子电池制造平台,可基于现有平台,根据固态电解质引入以后所发生的变化特征,来调整相应的制造设备。要快速转向大规模产业化,可能最容易的一条路线还是无机-聚合物复合体系先试先行。”
目前,清陶能源已经申请国家专利500多项,其中一半是发明专利,获得授权的有300多项。
据清陶能源公布的产品/产能进展看,清陶量产的第一代产品是半固态电池,液含量在5%-15%之间,能量密度在240-420Wh/kg之间,已经拥有1.7GWh现有产能和10GWh在建产能;
第二代准固态电池液含量小于5%,能量密度为400-500Wh/kg,即将与上汽集团合作,装配到上汽整车产品上;
第三代全固态电池内没有任何液体,目前已经完成了实验室阶段的验证,正在进行产线的设计和工艺开发相关工作,能量密度在500Wh/kg以上。
再统计一下清陶能源的产能。去年底清陶能源产能达到1.7GWh。今年2月,与成都郫都区达成战略合作,将投资100亿元,建设15GWh清陶能源动力固态电池储能产业基地。而据东吴证券披露的信息,清陶能源远期规划将拥有35GWh产能,其中宜春10GWh,昆山10.7GWh,成都15GWh。
提及产品研发与产能扩张,就不得不提及清陶能源与产业资本的合作。
2020年7月,搭载清陶固态电池的北汽集团、哪吒U纯电样车下线。一年后,轻量化的固态电池产品又携手广汽埃安亮相车展,这款产品的电芯能量密度达到了320Wh/kg。2022年11月,清陶能源还与北汽福田联合开发了了首套商用车固态电池系统,目前已经完成调试,正式下线。
不过合作最深的还是本次的投资方上汽集团。
上汽集团于去年7月,与清陶能源共同挂牌成立了固态电池联合实验室。其目的是共同打造适用于上汽第二代技术底座2.0版本的固态电池技术。苏州清陶新能源科技有限公司总经理、清陶研究院院长何泓材在一次演讲中就说道,“清陶与上汽集团联合开发了一款电池,能量密度达到了368Wh/kg,单体总量是116Ah……整个电池的循环寿命可以超过1000次。以CLTC综合续航工况实测的续航里程可以达到1038公里。”
想必很快搭载清陶能源固态电池的上汽整车就会面世。而清陶能源与上汽集团的合作取得突破性进展,或许正是本次上汽决定战投的主要原因之一。
固态电池,全球逐鹿
固态电池作为电池产业链的“圣杯”,早就挤满了重量级玩家。
比亚迪、宁德时代、赣锋锂业、国轩高科、亿纬锂能等新能源汽车公司/电池公司在固体锂电池赛道早有布局。而在非上市的科创企业中,也不止清陶能源一家。同样是院士带队的卫蓝新能源也颇具实力。
2016年,中科院院士陈立泉、研究员李泓、北汽总工俞会根共同创立的卫蓝新能源。已经发展为国内固态电池领域的头部企业。
据公开资料显示,卫蓝新能源已经拥有了湖州、溧阳、淄博等多个生产线。2020年8月,溧阳基地中试线投产。2022年6月,湖州基地投产。其能量密度360Wh/kg的固态电池产品,计划将在蔚来ET7上率先使用。
在资本端,卫蓝新能源的融资表现不俗。自2017年获得天使轮投资后,一共完成8轮融资。在最近的D轮融资中,中信建投、中科创星、顺为资本、招商资本、国投创益、联想创投等17家机构共同注资15亿元。其估值也近200亿。
还有一点值得一提。仔细对比卫蓝新能源和清陶能源两家公司的产业投资方,就会发现其中的竞合关系:押注卫蓝新能源的公司有小米、蔚来、华为、吉利。而抱团清陶能源的是上汽、北汽、广汽和哪吒汽车。不同的产业资本,或将影响固态电池未来的市场格局。
再放眼全球市场,美日韩等国也在固态电池赛道上齐头并进。丰田、松下、本田、三星、Solid Power、Quantum Scape 等公司都摩拳擦掌。
丰田在2014年就在研发出400Wh/kg的固态电池,计划2025年左右量产。三星在2022年3月开始建设全固态电池试验线,计划在2027年量产。
美国企业Solid Power与福特、宝马和现代等汽车公司合作,在2021年交付了能量密度320wh/kg的全固态电池,计划到2025年开始量产350wh/kg的硫化物全固态电池。另一家美国公司Quantum Scape,则与大众等企业建立合作,计划在2024年建设1Gwh的试生产线,2025年开始量产。
据华泰证券的研究预测,全固态电池普及可能要等到2030年左右。但显然对于锂电池研发企业而言,2025年前后就将迎来第一波产能扩张。
参考文献:
东吴证券,《千呼万唤始出来,犹抱琵琶半遮面--固态电池行业深度》
华泰证券,《新能车前沿技术之七:固态电池》
又一笔年内最大融资来了
清华院士带队创业,7年融了11轮。
近日,上汽集团发布公告称:拟通过嘉兴创颀与嘉兴颀骏一号两只基金,向清陶能源追加投资不超过27亿元;其中,嘉兴创颀出资不超过19.7亿元,嘉兴颀骏一号出资不超过7.3亿元。
据公开资料显示,早在2020年6月、2022年1月,上汽集团就先后两次参与了清陶能源的融资。此次投资完成后,上汽集团将共持有清陶能源约15.29%的股权。
如果再梳理融资历史就会发现,自2016年成立后,清陶能源已经完成了11轮融资。除了上汽集团之外,广汽集团、北汽集团都先后注资。财务投资机构也堪称豪华:峰瑞资本、清控银杏、首业资本、和高资本、上海科创基金等一批知名机构都位列其中。
清陶能源到底什么来头,受到资本如此追捧?
清华院士带队创业,7年融了11轮
先罗列一些关键信息:清华院士团队、投前估值206亿、固态锂电池赛道,公司400wh/kg的第二代产品即将列装上汽整车产品。
2016年,中科院院士、清华大学教授南策文与其学生冯玉川、李峥等人,组成创业团队成立了清陶能源,主攻固态锂电池的研发与生产。
当时,固态锂电池仍是实验室中的技术。不过因其远超液态锂电池的能量密度和安全性,受到学界和产业界的高度关注。
南策文就是长期为固态电池鼓与呼的学者。在接受《能源评论》的采访时,他分析道“全固态锂电池……取代传统电池里的隔膜和电解液,从而解决安全问题。同时,采用全固态电解质后,可以使用金属锂作为负极,从而提升能量密度……从解决安全问题、用现有的材料来提高能量密度角度来看,全固态锂电池可预期满足产业发展的需求,值得大力发展。”
而再往前,南策文团队是国内最早研究固态电池的科研团队之一。1997年,国家科教领导小组推动实施“基础研究重大项目计划”,简称“973”。这是我国加强基础科学研究的重要举措。
在“973”的众多科研项目中,功能陶瓷的研究方向就落在了清华大学材料系教授南策文身上。自2002年后,南策文带领团队在该领域不断攻坚。固态锂电池正是其中的课题之一。2006年,南策文团队研发的LLTO(锂镧钛氧)固态电解质材料表现出优秀性能;2010年开发的石榴石结构LLZO(锂镧锆氧)固态电解质材料工艺成熟。这些早期的技术积累,为此后清陶能源的发展奠定了坚实基础。
所以当2016年选择创业时,清陶能源立刻收到苏州昆山当地政府的大力支持,并在一年之内完成了峰瑞资本A、B两轮投资。
昆山政府和早期投资者没有押错。
在成立两年后,清陶能源的固态电解质产业化基地就开始投产。其产品开始供应数码产品和特种储能领域。随后清陶能源几乎按照一年一轮(甚至一年两年轮)的速度快速融资扩张。(如下图)。
图片来源:天眼查
不到7年的时间,清陶能源已经成长为估值超过200亿的超级独角兽,更是固态电池赛道的头号玩家。
目前,清陶能源的管理团队均出身清华。董事长冯玉川,2003年考入清华大学材料科学与工程系就读本科,2007年继续攻读硕士学位,在科研期间,与日本丰田等公司开展固态电解质材料开发的深度合作,拥有锂电池行业丰富的管理经验。
清陶能源总经理、CTO李峥,则是冯玉川同门同学,在清华大学材料科学与工程系先后取得本科、博士学位、并且毕业后在江苏省能源复合材料工程技术研究中心主任。
据天眼查显示,清陶能源的股权结构中,冯玉川持股14.65%,李峥持股14.21%,南策文持股8.88%(本轮融资前)。
除此之外,清陶能源的多位技术骨干和管理人员均来自清华材料科学与工程。这样一支兼具科研实力和产业管理经验的强大团队,正是清陶能源迅猛发展的第一动力。
联手产业巨头,第二代产品即将下线
那么清陶能源的业务进展到底如何?
先来看看主营业务。到目前,清陶能源已经发展出三大业务版块:
其一是新材料版块,包括固态电解质材料、复合隔膜材料和凹土新材料;其二是固态锂电池版块,包括电芯、动力电池、数码电池和特种储能等产品;其三是自动化装备版块,包括自动化设备包括隔膜涂布机、高金福锂电池隔膜分条机等锂电池自动化设备。此外,还包括锂电池回收等业务。
用清陶能源自己的话说,形成了“新能源材料—固态锂电池—自动化装备—锂电池资源综合利用—科研转化—产业投资”的完整产业链布局。
而在技术路径的选择上,李峥在今年5月召开的“国际先进电池前沿技术研讨会”上披露道,“(清陶与清华大学的研发团队)提出了以有机-无机复合固态电解质为研发技术路线,在保持无机固态电解质的性能优势的基础上,通过复合材料设计改善工艺性能,从而为固态电池产品化提供了可能性。”
南策文此前接受采访时,对复合路线选择给出了解释,“(无机-聚合物的复合体系)可以使离子电导率保持较高水平,而且可以做到柔性,保证高分子的加工性、柔性,特别是它可较大程度上利用现有锂离子电池制造平台,可基于现有平台,根据固态电解质引入以后所发生的变化特征,来调整相应的制造设备。要快速转向大规模产业化,可能最容易的一条路线还是无机-聚合物复合体系先试先行。”
目前,清陶能源已经申请国家专利500多项,其中一半是发明专利,获得授权的有300多项。
据清陶能源公布的产品/产能进展看,清陶量产的第一代产品是半固态电池,液含量在5%-15%之间,能量密度在240-420Wh/kg之间,已经拥有1.7GWh现有产能和10GWh在建产能;
第二代准固态电池液含量小于5%,能量密度为400-500Wh/kg,即将与上汽集团合作,装配到上汽整车产品上;
第三代全固态电池内没有任何液体,目前已经完成了实验室阶段的验证,正在进行产线的设计和工艺开发相关工作,能量密度在500Wh/kg以上。
再统计一下清陶能源的产能。去年底清陶能源产能达到1.7GWh。今年2月,与成都郫都区达成战略合作,将投资100亿元,建设15GWh清陶能源动力固态电池储能产业基地。而据东吴证券披露的信息,清陶能源远期规划将拥有35GWh产能,其中宜春10GWh,昆山10.7GWh,成都15GWh。
提及产品研发与产能扩张,就不得不提及清陶能源与产业资本的合作。
2020年7月,搭载清陶固态电池的北汽集团、哪吒U纯电样车下线。一年后,轻量化的固态电池产品又携手广汽埃安亮相车展,这款产品的电芯能量密度达到了320Wh/kg。2022年11月,清陶能源还与北汽福田联合开发了了首套商用车固态电池系统,目前已经完成调试,正式下线。
不过合作最深的还是本次的投资方上汽集团。
上汽集团于去年7月,与清陶能源共同挂牌成立了固态电池联合实验室。其目的是共同打造适用于上汽第二代技术底座2.0版本的固态电池技术。苏州清陶新能源科技有限公司总经理、清陶研究院院长何泓材在一次演讲中就说道,“清陶与上汽集团联合开发了一款电池,能量密度达到了368Wh/kg,单体总量是116Ah……整个电池的循环寿命可以超过1000次。以CLTC综合续航工况实测的续航里程可以达到1038公里。”
想必很快搭载清陶能源固态电池的上汽整车就会面世。而清陶能源与上汽集团的合作取得突破性进展,或许正是本次上汽决定战投的主要原因之一。
固态电池,全球逐鹿
固态电池作为电池产业链的“圣杯”,早就挤满了重量级玩家。
比亚迪、宁德时代、赣锋锂业、国轩高科、亿纬锂能等新能源汽车公司/电池公司在固体锂电池赛道早有布局。而在非上市的科创企业中,也不止清陶能源一家。同样是院士带队的卫蓝新能源也颇具实力。
2016年,中科院院士陈立泉、研究员李泓、北汽总工俞会根共同创立的卫蓝新能源。已经发展为国内固态电池领域的头部企业。
据公开资料显示,卫蓝新能源已经拥有了湖州、溧阳、淄博等多个生产线。2020年8月,溧阳基地中试线投产。2022年6月,湖州基地投产。其能量密度360Wh/kg的固态电池产品,计划将在蔚来ET7上率先使用。
在资本端,卫蓝新能源的融资表现不俗。自2017年获得天使轮投资后,一共完成8轮融资。在最近的D轮融资中,中信建投、中科创星、顺为资本、招商资本、国投创益、联想创投等17家机构共同注资15亿元。其估值也近200亿。
还有一点值得一提。仔细对比卫蓝新能源和清陶能源两家公司的产业投资方,就会发现其中的竞合关系:押注卫蓝新能源的公司有小米、蔚来、华为、吉利。而抱团清陶能源的是上汽、北汽、广汽和哪吒汽车。不同的产业资本,或将影响固态电池未来的市场格局。
再放眼全球市场,美日韩等国也在固态电池赛道上齐头并进。丰田、松下、本田、三星、Solid Power、Quantum Scape 等公司都摩拳擦掌。
丰田在2014年就在研发出400Wh/kg的固态电池,计划2025年左右量产。三星在2022年3月开始建设全固态电池试验线,计划在2027年量产。
美国企业Solid Power与福特、宝马和现代等汽车公司合作,在2021年交付了能量密度320wh/kg的全固态电池,计划到2025年开始量产350wh/kg的硫化物全固态电池。另一家美国公司Quantum Scape,则与大众等企业建立合作,计划在2024年建设1Gwh的试生产线,2025年开始量产。
据华泰证券的研究预测,全固态电池普及可能要等到2030年左右。但显然对于锂电池研发企业而言,2025年前后就将迎来第一波产能扩张。
参考文献:
东吴证券,《千呼万唤始出来,犹抱琵琶半遮面--固态电池行业深度》
华泰证券,《新能车前沿技术之七:固态电池》
0
第一时间获取股权投资行业新鲜资讯和深度商业分析,请在微信公众账号中搜索投中网,或用手机扫描左侧二维码,即可获得投中网每日精华内容推送。
发表评论
全部评论